Раздел XI.ppt
- Количество слайдов: 80
ТРАНСПОРТНЫЕ МАШИНЫ
Общие положения • Доставка на стройплощадку строительных материалов, изделий, конструкций и оборудования осуществляется: 1. Грузовыми автомобилями 2. Колесными тягачами 3. Прицепными и полуприцепными транспортными средствами 3 а)Специализированными 3 б)Общего назначения Выбор типа транспортных средств 1. Перемещаемыми грузами 1 а)Характером 1 б)Количеством 2. Дальностью перевозок 3. Состоянием дорог 4. Временем на доставку
§ 1. ГРУЗОВЫЕ АВТОМОБИЛИ Большая скорость передвижения Маневренность Малый радиус поворота С В О Й С Т В А Способность преодолевать крутые подъемы и спуски Приспособлены для работы с прицепами и полуприцепами М. б. оснащены погрузочноразгрузочными механизмами
1. 1. Автомобили общего назначения • 1 а)С кузовом в виде открытой сверху платформы с бортами, • 1 б)Бортовые автомобили повышенной проходимости (со всеми ведущими колесами и увеличенным количеством осей), • 2)Автомобили-тягачи, оборудованные сцепными устройствами для работы с прицепами, полуприцепами, роспусками*. *Прицеп-роспуск используется для перевозки длинномерных крупногабаритных объектов в сцепке с грузовым автомобилем. Прицеп-роспуск для «Газели» . и
Основные части грузового автомобиля Двигатель 1, Шасси 3, Кузов 2 для груза.
Бортовые автомобили • Кузова бортовых автомобилей представляют собой деревянную или металлическую платформу с откидными бортами. • Предназначаются для перевозки преимущественно штучных грузов. • Вместе с одноосными прицепами бортовые автомобили применяют для перевозки длинномерных грузов — труб, свай, бревен, проката металлов и т. п. • Грузоподъемность отечественных бортовых автомобилей 0, 8. . . 14 т.
Автомобильные тягачи седельного типа • Работают в сцепе с одно- и двухосными полуприцепами. • На раме шасси такого тягача крепится: Опорная плита и седельно-сцепное устройство <= -воспринимает силу тяжести груженого полуприцепа, -служит для передачи ему тягового усилия, развиваемого автомобилем. • Применение автомобильных тягачей седельного типа с полуприцепами позволяет: -лучше использовать мощность двигателя, -значительно увеличить грузоподъемность автомобиля. • Седельные автотягачи способны работать с гружеными полуприцепами массой 4. . . 25 т
Тягачи седельного типа Двигатель 1, Шасси 3, Седельно-сцепное устройство 4
• 1. Двигатель На грузовых автомобилях применяют двигатели внутреннего сгорания — карбюраторные и дизели. • 3. Шасси состоит из -Трансмиссии (гидромеханической или механической) или силовой передачи, -Ходовой части, -Механизмов, управления машиной. • Трансмиссия: - передает крутящий момент от вала двигателя к ведущим колесам , - приводит в действие различное оборудование, установленное на автомобиле.
Состав оборудования, приводимого в действие трансмиссией • Сцепление (2) - постоянно замкнутая дисковая фрикционная муфта => плавное соединение и быстрое разъединение двигатель трансмиссия; • Ступенчатая коробка передач (3 ) с переменным передаточным числом для изменения: -величины крутящего момента, подводимого к ведущим колесам в зависимости от условий движения, -обеспечения движения автомобиля задним ходом , -разъединения работающего двигателя с трансмиссией при длительных остановках машины.
Состав оборудования, приводимого в действие трансмиссией • Карданный вал (4), передающий крутящий момент под меняющимся углом от коробки передач к подрессоренному заднему мосту; • Главная передача (5) (одинарная или двойная): передает движение под прямым углом к полуосям (7), и увеличивает тяговую силу на ведущих колесах; • Дифференциал (6) для распределения крутящего момента между ведущими колесами, обеспечивающий их вращение с различными угловыми скоростями при движении автомобиля на поворотах и по неровной поверхности; • Полуоси (валы) (7), передающие крутящий момент к закрепленным на них ведущим колесам (8).
Двигатель (1), Сцепление (2), Коробка передач (3), Карданный вал (4), Главная передача (5), Дифференциал (6), Полуоси (валы) (7), Ведущие колеса (8)
ДИФФЕРЕНЦИАЛ • Прямолинейное движении автомобиля по ровной дороге: полуоси 7 с шестернями 15 вращаются с одинаковой скоростью, (скорость вращения коробки 14), сателлиты 13 - неподвижны. • Одно из ведущих колес - бóльшее сопротивление дороги, (полуосевая шестерня замедлит свое вращение) сателлиты начнут перекатываться => вторая полуосевая шестерня (за счет вращения сателлитов) => начнет вращаться быстрее. Составные части дифференциала: - Полуосевые шестерни 15, (закрепленные на полуосях 7), -Сателлиты 13 -Коробка 14, на которой закреплена ведомая шестерня главной передачи 5.
Дифференциал (схема) а - колеса вращаются одинаково, б – на повороте 1 - ось сателлитов, 2 – ведомая шестерня, 3 - полуосевые шестерни, 4 - сателлит, 5 - ведущая шестерня, 6 - полуоси.
Колесная формула • Грузовые автомобили обозначают Ах. Б, А — общее число колес, Б —ведущих (сдвоенные скаты - одно колесо). • Отечественные: -двухосные с колесной формулой 4 х2 и 4 х4, -трехосные с колесной формулой 6 х4, 6 х6. • А) - 4 х2, Б) — 6 х4, В) - 6 х6. • Передний ведущий мост 12 с управляемыми колесами и задние ведущие мосты 10 приводятся в действие от раздаточной коробки 11 через карданные валы 4. • 4 х2 и 6 х4 - по усовершенствованным и грунтовым дорогам. • 4 х4 и 6 х6 - машины повышенной и высокой проходимости.
Ходовая часть Состав: • Несущая рама, на которой монтируются: -все агрегаты, -кузов и кабина водителя, -передний и задний мост с пневмоколесами и упругой подвеской, соединяющей несущую раму с мостами. • Колеса автомобилей -нормальной проходимости имеют пневматические шины высокого (0, 5. . . 0, 7 МПа) давления, -повышенной проходимости — шины низкого (0, 17. . . 0, 49 МПа) давления с увеличенной опорной поверхностью. Механизмы управления • объединены в две независимые системы: - рулевая — для изменения направления движения автомобиля - тормозная — для снижения скорости и быстрой остановки.
1. 2. Спецавтомобили (особенности трансмиссии) В автомобили: • С автономным погрузочно-разгрузочным оборудованием, • С самосвальными прицепами и полуприцепами, • Используемых в качестве базы строительных машин, дополнительно включена коробка отбора мощности для привода: -насосов гидросистемы, -подъемных механизмов, -навесного рабочего оборудования.
С автономным погрузочноразгрузочным
С самосвальными прицепами и полуприцепами
С самосвальными прицепами и полуприцепами
Как база строительных машин
§ 2 ТРАКТОРЫ • Назначение: -Для транспортирования на прицепах грузов и оборудования по любым дорогам, вне дорог, в стесненных условиях; -Для передвижения и работы навесных и прицепных СМ. По применению: Сельскохозяйственные Промышленные Специальные* *Для горных, подводных, подземных и других специальных работ Промышленного типа по своим конструктивно-эксплуатационным параметрам наиболее полно соответствуют требованиям, предъявляемым в строительстве. По конструкции ходового оборудования Гусеничные Колесные
Пневмоколесные тракторы Обладают: -сравнительно большими (до 40 км/ч) скоростями, -высокой мобильностью и маневренностью. Используют как: - транспортные машины - базу для установки различного навесного оборудования (погрузочного, кранового, бульдозерного и землеройного). Применяют при: производстве землеройных и строительно-монтажных работ небольших объемов на рассредоточенных объектах. Наиболее эффективны -на дорогах с твердым покрытием. «-» Высокое удельное давление на грунт -снижает проходимость. Мощность их двигателей 47. . . 220 к. Вт. * 1 л. с. = 735, 5 Вт.
Пневмоколесные тракторы
Пневмоколесные тракторы • Оснащаются дизелями, механическими и гидромеханическими трансмиссиями. • По типу системы поворота различают тракторы: - с передними управляемыми колесами (а), - со всеми управляемыми колесами - с шарнирно сочлененной рамой (б). Наиболее распространены пневмоколесные тракторы с: дизелями, механической трансмиссией, передними управляемыми колесами.
С шарнирно сочлененной ( «ломающейся» ) рамой (в) • Рама состоит из двух полурам — передней 1 и задней 2, соединенных между собой универсальным шарниром 3. • Маневрирование производится путем поворота передней полурамы относительно задней вокруг вертикальной оси шарнира на угол до 40° с помощью двух гидроцилиндров. • Каждая из полурам опирается на ведущий мост с управляемыми колесами. • Трансмиссия тракторов с шарнирно сочлененной рамой — механическая и гидромеханическая. • + высокая маневренность, малый радиус поворота, применяются для работы в стесненных условиях.
Гусеничные тракторы Характеризуются: • надежным сцеплением гусеничного хода с грунтом, • малым удельным давлением на грунт (0, 02. . . 0, 06 МПа) • высокой проходимостью. Мощность двигателей гусеничных тракторов 55. . . 600 к. Вт. Скорость не превышает 12 км/ч. Двигатель: а)передний, б)задний.
Основные узлы пневмоколесных и гусеничных Вспомогат ельное и Рабочее оборудова ние* Ходовое устройств о Система управлен ия *Предназначено для использования полезной мощности двигателя при работе с навесными и прицепными машинами (прицепное устройство, валы отбора мощности, приводные шкивы, гидравлическая навесная система). Двигатель Трансмиссия Рама
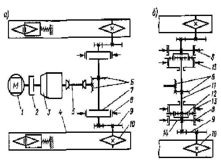
Трансмиссия гусеничных тракторов • Назначение для: - передачи крутящего момента от двигателя к гусеницам, -плавного трогания и остановки машины, -изменения тягового усилия в соответствии с условиями движения, -изменения скорости и направления его движения, - привода рабочего оборудования. • Оснащают: -Механическими, -Гидромеханическими, -Электромеханическими трансмиссиями. • Наибольшее распространение получили гусеничные тракторы: -С передним расположением двигателя, -Механическими трансмиссиями.
Механическая трансмиссия Состав: • Фрикционная дисковая муфта сцепления 2, • Коробка передач 3, • Соединительные валы 5, • Главная передача 6, • Механизм поворота с тормозами 7, 8 • Бортовые редукторы 9, • Ведущие звездочки 10 гусениц 4. Муфта сцепления и коробка передач выполняют те же функции, что и одноименные узлы автомобиля. Главная передача (аналогичная автомобильной) и бортовые редукторы увеличивают крутящий момент, подводимый от двигателя 1 к ведущим звездочкам гусениц.
Фрикционный механизм поворота (а) • Выполнен в виде 2 -х постоянно замкнутых многодисковых фрикционных муфт (бортовых фрикционов) 7. • Прямолинейное движение - оба фрикциона включены => ведущие звездочки 10 гусениц вращаются синхронно. • Частичное (полное) включением одного из фрикционов => уменьшение скорости движения соответствующей гусеницы => поворот трактора в сторону отстающей гусеницы. • Крутой поворот - торможение отключенной гусеницы => путем действия ленточных тормозов 8 на наружные (ведомые) барабаны фрикционов • Торможение обеих гусениц: - при движении трактора на уклонах, - затормаживание его на месте.
Планетарный механизм поворота (б) • Прямолинейное движение трактора обеспечивается при затянутых тормозах 13 до полной остановки солнечных шестерен 12. При этом водила 14 и вал 11 будут вращаться с одинаковой скоростью. • Для поворота трактора необходимо отпустить правый или левый тормоза 13, в результате чего один из планетарных механизмов полностью или частично прекратит передавать крутящий момент ведущей звездочке 10 гусеницы. • Включением тормоза 8 достигается уменьшение радиуса поворота трактора. • При одновременном включении обоих тормозов 8 обеспечивается снижение скорости или полная остановка.
§ 3. Пневмоколесные тягачи Назначение • Для работы с различными видами сменного навесного и прицепного строительного оборудования. Достоинство перед гусеничными тракторами • Более просты по конструкции, • Имеют меньшую массу, • Большая долговечность, • Дешевле в изготовлении и эксплуатации, • Большие скорости (до 50 км/ч), • Хорошая маневренность. Применяют • Дизели, с механической и гидромеханической трансмиссией. Наиболее часто - с гидромеханической. Бывают Одноосные Двухосные
3. 1. Одноосный пневмоколесный тягач Состав: • Двигатель, • Трансмиссия, • Два ведущих управляемых колеса. Особенность. • Не может самостоятельно передвигаться или стоять на двух колесах без полуприцепного рабочего оборудования. • С полуприцепным рабочим оборудованием - самоходная строительная машина с передней ведущей осью. Управление сцепом тягач-полуприцеп осуществляется • путем поворота на 90° вправо-влево относительно полуприцепа с помощью гидроцилиндров двустороннего действия.
Одноосный 1 — скрепер; 2 — землевозная тележка; 3 — кран; 4 — цистерна для цемента или жидкостей; 5 — трайлер;
3. 2. Двухосный тягач • В отличие от одноосного – 1)самостоятельно перемещается без прицепа, 2)работает в агрегате с двухосными прицепами. • Имеют 1 или 2 ведущих моста и шарнирно сочлененную раму. • Применяют гидро- и электромеханические трансмиссии с моторколесами Схема поворота полурам такая же, как и у пневмоколесного трактора • На базе колесных тягачей, используя различное сменное рабочее оборудование, возможно создание строительных машин
Двухосный 6 — крантрубоукладчик; 7 — траншеекопатель; 8 — корчеватель; 9 — бульдозер; 10 — рыхлитель; 11 — погрузчик
§ 4. Самосвалы По назначению Специальные Карьерные Универсальные Общестроительн По форме поперечного сечения металлических кузовов Корытообразная Трапециевидная Прямоугольная • В условиях городского строительства применяют универсальные самосвалы грузоподъемностью 4. . . 12 т. • Предназначены для перевозки грунта, гравия, щебня, песка, асфальта, бетонной смеси, строительного раствора и т. п. • Современные универсальные самосвалы выпускают на шасси грузовых бортовых автомобилей общего назначения. • Оборудуют однотипными гидравлическими системами. • Обеспечивают быстрый подъем и опускание кузова, высокую надежность и безопасность работы.
Универсальный самосвал
Самосвалы Основные узлы • Масляный бак. • Гидравлический насос с приводом от коробки отбора мощности автомобиля. • Один или несколько (в зависимости от грузоподъемности) телескопических гидроцилиндров одностороннего действия, непосредственно воздействующих на кузов. • Распределитель или кран управления. • Соединительные трубопроводы. • Предохранительные устройства.
Основные узлы • Гидроцилиндры подъемных механизмов м. б. 1)горизонтальными, 2)наклонными и 3)вертикальными устанавливаются на раме автомобиля под передней частью кузова или на переднем его борту (а). • Разделитель (кран управления) - направляет поток рабочей жидкости от насоса к гидроцилиндру (или синхронно работающим гидроцилиндрам) при опрокидывании кузова, - соединяет полости гидроцилиндров со сливным баком при опускании кузова, - ограничивает давление в системе и обеспечивает фиксацию кузова в определенных положениях (крайних или промежуточных).
Самосвальные автопоезда Состав • автомобиль-самосвал и прицеп-самосвал, • седельного тягача и полуприцепа-самосвала (б). Принцип действия • Автомобиль-самосвал разгружается на стороны, • Прицеп-самосвал — на стороны и назад. Прицепы-самосвалы могут иметь разъемные (сдвоенные) кузова, передний из которых разгружается на две (боковые), а задний — на три (боковые и назад) стороны.
§ 5. Автомобили-самопогрузчики Особенность • Транспортные функции + погрузка и разгрузка перевозимых тарных грузов, перегрузка грузов на рядом расположенные автомобили и прицепы с помощью гидравлических погрузочно-разгрузочных устройств, установленных на самом автомобиле. Оборудованы: • качающимися порталами, • бортовыми манипуляторами, • грузоподъемными бортами, • навесными грузоподъемными устройствами.
Автомобили-самопогрузчики с качающимся порталом
С качающимся порталом (бокового или заднего расположения) Предназначены • для перевозки, погрузки и разгрузки контейнеров массой до 5 т. Принцип действия • Рабочий орган — качающийся портал (1) шарнирно соединен с платформой для установки контейнеров и может поворачиваться в вертикальной плоскости на угол до 120° двумя гидроцилиндрами (2). Выдвижные и откидные гидроопоры(3). Используются также для (б): • погрузки-разгрузки сменных кузовов-контейнеров. • перевозки, погрузки и разгрузки контейнеров большой грузоподъемности (20 т и более).
С бортовым манипулятором
С бортовым манипулятором Стреловое оборудование смонтировано на поворотной колонке 10, установленной на опорной раме 5 шасси, и состоит из рукояти 11, рычага 13, телескопической стрелы 14 с основной 17 и выдвижной 18 секциями, гидроцилиндров 12, 15 и 16 управления, крюковой подвески 19 или ротатора 20. Ротатор обеспечивает манипулирование грузом в горизонтальной плоскости через реечную передачу и гидроцилиндр 21 двустороннего действия, штоком которого являйся рейка 22 ротатора, входящая в зацепление с шестерней 23. Поворот стрелы в плане на угол 400° обеспечивается реечным поворотным механизмом, включающим два попеременно работающих гидроцилиндра, рейку 7 и шестерню 8, закрепленную на валу 9 поворотной колонки. Привод насоса 3 осуществляется от двигателя 7 автомобиля через коробку отбора мощности 2. Управление осуществляется с пульта управления 4.
Размещение бортовых манипуляторов
§ 6. Трубовозы и плетевозы Назначение (применяют специальные автопоезда ) • Для перевозки труб длиной 6. . . 12 м диаметром до 1420 мм и сварных секций из труб (плетей) длиной 24. . . 36 м. Состав трубовоза • автотягач, одноосный прицеп-роспуск с жестким дышлом или полуприцеп. Принцип действия • Тяговое усилие на прицеп-роспуск передается: -у трубовозов через тягово-сцепное устройство и дышло, - у плетевозов — непосредственно трубам (плетям). • При многорядной укладке трубы увязывают канатом. • Для перевозки изолированных труб в городских условиях обычно применяют специализированные полуприцепы-трубовозы. • Трубовозы и плетевозы оборудуют габаритными сигналами. • Грузоподъемность трубовозов 9. . . 12 т, плетевозов — 6. . . 19 т.
• (а) показан седельный тягач 1 с полуприцепомтрубовозом 5 грузоподъемностью 7 т, оборудованным двумя (передним и задним) гидравлическими разгрузочными механизмами 2. Рама полуприцепа выполнена раздвижной и на передней и задней ее частях имеются деревянные опорные плоскости и боковые стойки. Полуприцеп оборудован передним и задним металлическими предохранительными щитами 3, предотвращающими осевое перемещение труб 4 при перевозке. • Разгрузочный механизм состоит из телескопической стрелы 9 (в), раздвигаемой встроенным гидроцилиндром, и двух телескопических гидроцилиндров 7 для поворота стрелы с грузовым захватом 8 для труб в вертикальной плоскости. • (б, в) показаны положения стрелы соответственно перед разгрузкой и в конце разгрузки. Устойчивость автопоезда обеспечивается откидными опорами 6. • Пульт управления разгрузочными механизмами расположен в передней части полуприцепа.
§ 7. Битумовозы и автогудронаторы Назначение • Для перевозки жидких вяжущих материалов (битум, гудрон…) в разогретом состоянии от предприятий-изготовителей к местам производства дорожных, кровельных и изоляционных работ. Представляют собой • цистерны эллиптической формы, смонтированные на шасси автомобилей или на полуприцепах к седельным тягачам, Оснащаются системами • подогрева (для поддержания температуры перевозимого материала не ниже 200°С) • выдачи мастики. Вместимость цистерн: • гудронаторов 3500. . . 7000 л, • битумовозов — 4000. . . 15000 л
Битумовоз
Автогудронатор ДС-142 Б
§ 8. Панелевозы Выполнены в виде полуприцепов к седельным автотягачам. Предназначены для перевозки стеновых панелей, перекрытий, перегородок, плит, лестничных маршей. . . • в вертикальном или крутонаклонном положении. Передняя часть опирается на седельно-сцепное устройство тягача, Задняя — на одноосную или двухосную тележку с управляемыми или неуправляемыми колесами. В стесненных условиях - с управляемыми задними тележками. Оборудуются раздельно управляемыми гидравлическими опорами с гидроцилиндрами, работающими от гидросистемы автомобиля, что позволяет вести монтаж с «колес» . Грузоподъемность 9. . . 22 т. Различают ферменные и рамные.
Ферменные панелевозы
• Несущий металлический каркас выполняют в виде пространственной фермы ( «хребта» ): -трапециевидного (б), -прямоугольного сечения (в). • Некоторые конструкции имеют также дополнительные боковые наклонные кассеты для перевозки укороченных панелей в один ряд (г) => лучше использовать автопоезд. • Для крепления панелей используют: -винтовые зажимы, -прижимные планки и канаты. • Рамные прицепы-панелевозы (д) имеют раму (несет кассету и воспринимает основную нагрузку). Панели устанавливаются внутри кассеты на деревянный настил и удерживаются зажимными винтами.
Ферменные панелевозы
Рамные панелевозы
§ 9. ФЕРМОВОЗЫ • Длиннобазовые полуприцепы-фермовозы предназначены для перевозки ферм длиной 12. . . 30 м, установленных и закрепленных в положении, близком к рабочему. • Имеют форменную или балочную конструкцию с кассетной платформой и двухосной со сдвоенными колесами управляемой и неуправляемой тележками. • В стесненных условиях применяют полуприцепы-фермовозы с гидравлическим управлением тележки, у которой каждое колесо поворачивается на соответствующий угол в зависимости от угла «складывания» автопоезда. • Грузоподъемность 10. . . 22 т. • На рис. - автопоезд-фермивоз для перевозки ферм любой конструкции длиной до 24 м и высотой до 2, 5 м.
Автопоезд-фермовоз • Рама 2 передней частью опирается на седельно-сцепное устройство тягача, а задней — на седельно-опорное устройство двухосной задней тележки 4. • Переднюю передвижную опору 5 полуприцепа устанавливают в зависимости от длины перевозимых ферм и передвигают с помощью ручной лебедки 7. • Ферма 3 опирается на грузовые площадки рамы и закрепляется в верхнем ее поясе прижимными винтами.
Фермовоз-кассетник Кассетная платформа
§ 10. Сантехкабиновозы и блоковозы • Эти полуприцепы предназначены для перевозки: -объемных элементов (унифицированных санитарно-технических кабин, блок-комнат, маршей), -технологического оборудования (секций лифтов, трансформаторов, котлов, бункеров, баков и др. ), -контейнеров. • По конструкции отличаются от панелевозов рамного типа: - низким расположением грузовой площадки -отсутствием специальных средств крепления. • Представляет собой сварной каркас кассетного типа, -передняя часть опирается на седельно-сцепное устройство тягача, -Задняя -на одно, двухосную тележку с управляемыми или неуправляемыми колесами. • Оборудуются механическими или управляемыми гидравлическими опорными устройствами. • Грузоподъемность 4. . . 30 т.
Сантехкабиновоз
Сантехкабиновоз
§ 11. Плитовозы • • Полуприцепы-плитовозы применяют для перевозки: плит перекрытий и покрытий в горизонтальном положении, балок, колонн, ригелей, пиломатериалов и др. Несущей частью грузовой площадки плитовоза является хребтовая рама с консолями для настила и выдвижными боковыми стойками. • Полуприцепы имеют одноосную или двухосную заднюю тележку. • Некоторые конструкции плитовозов выполняют с раздвижной телескопической рамой. • Грузоподъемность плитовозов до 22 т.
Плитовоз одноосный
Полуприцеп-плитовоз ОДНООСНЫЙ МОДЕЛЬ 993210 (УПП(Ш)-1207)
§ 12. ТЯЖЕЛОВОЗЫ • Для перевозки тяжеловесного крупногабаритного оборудования и строительных машин применяют трех-, четырех- и шестиосные многоколесные прицепы и полуприцепы -тяжеловозы грузоподъемностью 20. . . 120 т с низкорасположенной платформой. • Прицепы транспортируют балластными автомобильными тягачами. • Полуприцепы — седельными. • Прицепы и полуприцепы большой грузоподъемности оборудуют гидравлическими подъемными механизмами для опускания платформы при погрузке и подъеме ее при транспортировке грузов. • Для погрузки и выгрузки грузов на тягаче устанавливают лебедку с приводом от коробки отбора мощности автомобиля.
Балластный автомобильный тягач
Седельный тягач
Прицеп-тяжеловоз • Прицеп-тяжеловоз представляет собой широкую стальную платформу, которая, если требуется, может быть расширена дополнительными подкатными тележками. • Прицепы с возможностью расширения называют составными. • Прицеп-платформа не имеет бортов - для негабаритных грузов. • Дополнительные борта - для страховки груза. • Виды прицепов-тяжеловозов: - с пониженной платформой (ниже семидесяти сантиметров), - низкорамные (до девяносто пяти сантиметров), - высокорамные (выше одного метра). • Самым популярные и универсальные -низкорамные.
• По расположению платформы. -ниже уровня колес - более маневренные, - над колесами. - более устойчивые. • Некоторые прицепы оснащаются гидравлической (регулирование высоты платформы), рессорной, и пневматической подвеской. • М. б. укомплектован подруливающими и подъемными осями - для увеличения маневренности. • Все прицепы-тяжеловозы оснащены тормозной системой. • Платформы тяжеловозов м. б. оснащены крепежными механизмами для перевозки стандартных контейнеров. • В отличие от автомобилей, полуприцепы и прицепы можно объединять в автопоезда => наращивать их грузоподъёмность. • Для перевозки грузов до 100 т. - зарубежные и отечественные. • Более тяжелые грузов -зарубежные марки прицепов-тяжеловозов - Kamag, Scheuerle, Nooteboom, Nicolas, Goldhofer.
Прицеп-тяжеловоз
Полуприцеп-тяжеловоз • Низкорамные - большая грузоподъёмность => использовать для перевозки габаритных и тяжёлых грузов. • Высокорамные, многоосные предназначенные для бездорожья.
Полуприцеп-тяжеловоз
§ 13. ТЯГОВЫЕ РАСЧЕТЫ Общее сопротивление движению машины (W): -основное сопротивление движению на прямом горизонтальном участке пути, представляющее собой сумму сопротивлений качению колес (гусениц) и трения в трансмиссии, - дополнительное сопротивление на подъеме (+), на уклоне (-), Н • При тяговых расчетах обычно не учитываются сопротивления: воздуха, при движении на криволинейных участках и ускорения. Удельные сопротивления движению -Значения основного удельного сопротивления - в справочниках. -Значение дополнительного удельного сопротивления определяют исходя из величины уклона пути (в тысячных долях).
Полное сопротивление движению авто при перевозке груза (W): -где Ga и GГ — соответственно вес автомобиля и груза, Для тракторов и пневмоколесных тягачей, буксирующих прицепы: • • • Gт — собственный вес трактора или тягача; GП — вес прицепа с грузом; n — число прицепов; -основное удельное сопротивление движению трактора ; - то же, прицепа. Условия необходимые для движения и • Fт — сила тяги на ведущих колесах (гусеницах); • Gсц —сцепной - вес с грузом, на ведущие колеса (гусеницы); • Ф— коэффициент сцепления колес (гусениц) с дорогой, (0, 3. . . 0, 6 для пневмоколесных и 0, 5. . . 0, 9 для гусеничных машин). Если последнее условие не соблюдается => пробуксовывание.
Раздел XI.ppt