Скачать презентацию The Written Description Requirement A sectional sofa Скачать презентацию The Written Description Requirement A sectional sofa

6476d3453ce3ab91ed970d1c42fac78b.ppt

  • Количество слайдов: 42

The Written Description Requirement The Written Description Requirement

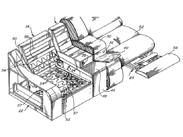
A sectional sofa comprising: a pair of reclining seats disposed in parallel relationship with A sectional sofa comprising: a pair of reclining seats disposed in parallel relationship with one another in a double reclining seat sectional sofa section being without an arm at one end. . . , each of said reclining seats having a backrest and seat cushions and movable between upright and reclined positions. . . ,

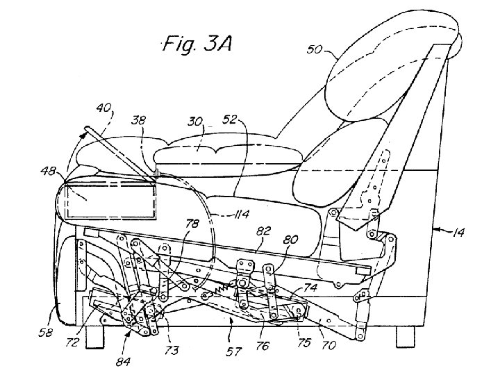
“In this case, the original disclosure clearly identifies the console as the only possible “In this case, the original disclosure clearly identifies the console as the only possible location for the controls. It provides for only the most minor variation in the location of the controls, noting that the control “may be mounted on top or side surfaces of the console rather than on the front wall. . . Without departing from this invention. ”

although written description and enablement often rise and fall together, requiring a written description although written description and enablement often rise and fall together, requiring a written description of the invention plays a vital role in curtailing claims that do not require undue experimentation to make and use, and thus satisfy enablement, but that have not been invented, and thus cannot be described. For example, a propyl or butyl compound may be made by a process analogous to a disclosed methyl compound, but, in the absence of a statement that the inventor invented propyl and butyl compounds, such compounds have not been described and are not entitled to a