19_Внешн_Фотоэффект-ФЭУ.ppt
- Количество слайдов: 25
тема: «Приемники излучения на основе внешнего фотоэффекта» Фотоэлектрические явления заключаются в: • испускании электронов веществом, • увеличении проводимости вещества, • возникновении эдс под действием электромагнитного излучения. При фотоэффекте часть падающего электромагнитного излучения от поверхности металла отражается, а часть проникает внутрь поверхностного слоя металла и там поглощается. Поглотив фотон, электрон получает от него энергию и, совершая работу выхода, покидает металл. Итак, сущность фотоэффекта заключается в том, что за счет энергии электромагнитного излучения происходит освобождение электронов: 1) из связанных состояний внутри вещества – внутренний фотоэффект; 2) в вакуум или другое вещество – внешний фотоэффект; 3) из отдельных атомов и молекул газа – фотоионизация.
Внешним фотоэффектом (фотоэлектронной эмиссией) называется испускание электронов веществом под действием электромагнитных излучений. Электроны, вылетающие из вещества при внешнем фотоэффекте, называются фотоэлектронами, а электрический ток, образуемый ими при упорядоченном движении во внешнем электрическом поле, называется фототоком. Фотокатод — электрод вакуумного электронного прибора, непосредственно подвергающийся воздействию электромагнитных излучений и эмитирующий электроны под действием этого излучения. Зависимость спектральной чувствительности от частоты или длины волны электромагнитного излучения называют спектральной характеристикой фотокатода.
Требования к материалу фотокатодов:
Законы внешнего фотоэффекта
3.
Законы внешнего фотоэффекта (повтор): 1 -й закон фотоэффекта: количество электронов, вырываемых светом с поверхности металла за единицу времени на данной частоте, прямо пропорционально световому потоку, освещающему металл. 2 -й закон фотоэффекта: максимальная кинетическая энергия вырываемых светом электронов линейно возрастает с частотой света и не зависит от его интенсивности. 3 -й закон фотоэффекта: для каждого вещества существует красная граница фотоэффекта, то есть минимальная частота света ν 0 (или максимальная длина волны λ 0), при которой ещё возможен фотоэффект, и если v < v 0 , то фотоэффект уже не происходит.
Схемы включения ФЭ – а) с охранным кольцом; б) без охранного кольца; в) импульсная схема.
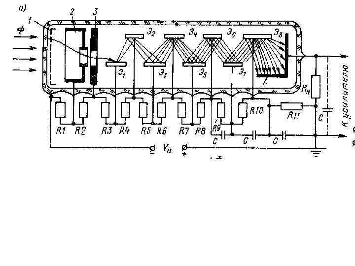
Фотоэлектронный умножитель (ФЭУ) — электровакуумный прибор, в котором поток электронов, излучаемый фотокатодом под действием оптического излучения (фототок), усиливается в умножительной системе в результате вторичной электронной эмиссии; ток в цепи анода (коллектора вторичных электронов) значительно превышает первоначальный фототок (обычно в 105 раз и выше). Впервые был предложен и разработан Л. А. Кубецким в 1930— 1934 гг.
Фотоэлектронные умножители (ФЭУ) используются для обнаружения очень слабых сигналов. ФЭУ получает свет через стеклянное или кварцевое окно, покрытое фоточувствительной поверхностью – фотокатодом, который испускает электроны, а они в свою очередь умножаются в специальных электродах (известных как диноды). В конце динодной цепочки находится анод или собирательный электрод. Как правило, ток, идущий через анод пропорционален фототоку, генерируемому фотокатодом.
Фотоэлектронный умножитель состоит из входной (катодной) камеры (образуется поверхностями фотокатода, фокусирующих электродов, первого динода), умножительной динодной системы, анода и дополнительных электродов. Все элементы размещаются в вакуумном корпусе (баллоне). Наиболее распространены ФЭУ, в которых усиление потока электронов осуществляется при помощи нескольких специальных электродов изогнутой формы — «динодов» , обладающих коэффициентом вторичной эмиссии больше 1. Для фокусировки и ускорения электронов на анод и диноды подаётся высокое напряжение (600— 3000 В). Иногда также применяется магнитная фокусировка, либо фокусировка в скрещенных электрическом и магнитном полях. Существуют фотоэлектронные умножители с полупроводниковыми умножающими элементами (гибридные), принцип действия которых основан на явлении ионизации атомов полупроводника при его бомбардировке электронами. В зависимости от конструкции динодной системы ФЭУ разделяются на: • системы на дискретных динодах с электростатической фокусировкой электронных пучков (наиболее часто используемые диноды коробчатые, ковшеобразной и тороидальной формы), • системы на дискретных диодах сквозного типа (динодами являются сетки, жалюзи, плёнки), • системы на распределённых динодах (пластинчатые, щелевые и трубчатые).
Основные параметры ФЭУ: Световая анодная чувствительность - отношение анодного фототока к вызывающему его световому потоку при номинальных потенциалах электродов, составляет 1— 104 А/лм Спектральная чувствительность - равна спектральной чувствительности фотокатода, умноженной на коэффициент усиления умножительной системы, лежащий обычно в пределах 10³— 108 (до 1011)[1]; Темновой ток - ток в анодной цепи в отсутствие светового потока, как правило, не превышает 10− 9— 10− 10 А.
Такие характеристики фотоэлектронного умножителя как спектральная чувствительность, квантовая эффективность, чувствительность, темновой ток, определяются структурой фотокатода. Лучшие фотокатоды, работающие в видимой области света, имеют квантовую эффективность менее 30%. Это означает, что 70% фотонов, попадающих на фотокатод, не производят фотоэлектронов, т. е. не детектируются. Толщина фотокатода является важным параметром, за которым необходимо следить, что бы отклик от поглощенных фотонов был корректным. Если фотокатод будет толстым, то больше фотонов поглотится при меньшем количестве эмитированных электронов, а если фотокатод будет очень тонким, то слишком много фотонов пролетит сквозь него без поглощения.
Внутренняя поверхность стальной сферы, на которой установлены фотоэлектронные умножители (фото участников проекта Borexino) по изучению гео-нейтрино.
В стальном шаре диаметром 18 метров, внутренняя поверхность которого облицована 1879 фотоэлектронными умножителями — датчиками света, обнаруживающими вспышки и преобразующими их в электронные сигналы для компьютерного анализа.


