Сравнение межличностной и массовой

































































Сравнение межличностной и массовой коммуникации Массовая коммуникация Межличностная коммуникация Опосредованность общения техническими Непосредственный контакт в общении средствами Общение больших социальных групп Общение в основном отдельных индивидов Ярко выраженная социальная Как социально, так и индивидуально – ориентированность общения личностная ориентированность общения Организованный, институциональный Как организованный, так и спонтанный характер общения характер общения Повышение требовательности к соблюдению Более «свободное» отношение к соблюдению принятых норм общения принятых норм общения Однонаправленность информации и Попеременная сила направленности фиксирование коммуникативных ролей информации и коммуникативных ролей Массовая, стихийная, анонимная аудитория Реципиент – отдельный конкретный человек Преобладание двухступенчатого характера Преобладание непосредственного восприятия сообщения восприятия сообщения
Тема 2. Модели коммуникационных процессов
План 1. Модели коммуникационных процессов без обратной связи 2. Модели коммуникационных процессов с обратной связью
Вопрос 1. Модели коммуникационных процессов без обратной связи
Модель Аристотеля ОРАТОР – РЕЧЬ - СЛУШАТЕЛЬ
Модель Гарольда Лассуэла (1948)
Разработана на основе проведения пропаганды в армейских подразделениях во Вторую Мировую войну
Элементы коммуникационного процесса • Кто? • Что? • По какому каналу? • Кому? • С каким эффектом?
Кто? Рассматриваются факторы которые открывают и направляют сам акт коммуникации (в первую очередь это сам коммуникатор)
Что? Анализ содержания (включаются статистический анализ частоты упоминаний тех или иных фактов и событий в СМИ)
По какому каналу? Выявление средств, адекватных характеру передаваемых сообщений и приемлемых для получателя
Кому? Анализ аудитории – к решению данной задачи привлекаются социологические службы
С каким эффектом? Объединяется с анализом аудитории Привлекаются социологические службы
Модель Шеннона-Уивера • По существу эта модель представляет собой графическую модель Г. Лассуэла • Основана на аналогии с телефонной связью
Структура модели • Источник – тот, кто делает звонок • Сообщение – передаваемая информация • Телефонный передатчик – кодирующее устройство, преобразующее звуковые волны в электрические импульсы • Канал - телефонный провод • Телефонный приемник – 2 -ой аппарат – декодер, осуществляющий обратное преобразование электрических импульсов в звуковые волны • Приемник – человек, которому адресовано сообщение
КАНАЛ с п с и о и г л г н у н а ч а СООБЩЕНИЕ л е л СООБЩЕНИЕ н П к у П д у ы Е о с Р е с й Р д т И к т Е и р Е о р ИСТОЧНИК Д р о М д о ПОЛУЧАТЕЛЬ А у й Н и й Т ю с И р с Ч щ т К у т И е в ю в К е о що е ИСТОЧНИК ШУМА
Двухканальная модель коммуникации Достоинство модели С ее появлением возникло представление о скорости и количестве передаваемой информации
ТЛФ КАНАЛ Получ. КОДИРУЮЩЕЕ сигнал ДЕКОДИРУЮЩЕЕ УСТРОЙСТВО УСТРОЙСТВО ТЛФ ИСТОЧНИК ПОЛУЧАТЕЛЬ ИСТОЧНИК ШУМА КОДИРУЮЩЕЕ ДЕКОДИРУЮЩЕЕ УСТРОЙСТВО УСТРОЙСТВО ТЛГ ТЛГ КАНАЛ
Недостатки двухканальной модели • Отражает технические способы коммуникации, человек включается в нее лишь в качестве источника/ приемника информации • Абстрагируется от содержания, смысла инф- ции, уделяет внимание только ее кол-ву • Коммуникативный процесс носит однонаправленный характер , обратная связь отсутствует
Вопрос 2. Модели коммуникационных процессов с обратною связью
Модель М. де Флера
Структура процесса • В коммуникативном процессе первоначальная идея ( «значение» ) трансформируется в «сообщение» , которое отправитель затем переводит в «информацию» , посылаемому по каналу получателю • Получатель декодирует «информацию» в «сообщение» , которое в свою очередь трансформируется в месте назначения в идею ( «значение» ) • Если между первым и вторым «значениями» есть соответствие, т. е. идея, возникшая в сознании отправителя, соответствует идее, возникшей в сознании получателя, то коммуникация состоялась • Однако, согласно де Флеру полное соответствие является весьма редким
ИСТОЧНИК ПОЛУЧА значение 1 ПЕРЕДАТЧИК КАНАЛ ПРИЕМНИК ТЕЛЬ (значени е 2) ШУМ ПОЛУЧАТЕ ЛЬ значение 2 ИСТОЧН ИК значение 1 ПРИЕМНИК КАНАЛ ПЕРЕДАТЧИК
Циркулярная модель коммуникации Осгуда-Шрама
Особенность • Отражена реакция коммуниканта на сообщение источника в виде обратной связи • «Источник» и «получатель» поочередно меняются ролями, в результате чего коммуникация превращается в диалог
Сравнение - механистические модели (линейные) нацелены на исследование точности сигналов, достигаемой минимизацией технических шумов в канале - в циркулярной модели акцент переноситься на интерпретацию сообщения
СООБЩЕНИЕ КОДИРОВАНИЕ ДЕКОДИРОВАНИ Е КОММУНИКАТОР А КОММУНИКАТОР В ДЕКОДИРОВАНИ Е КОДИРОВАНИЕ СООБЩЕНИЕ
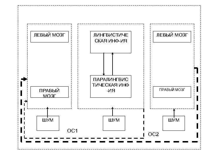
Модель В. П. Морозова Модель представлена не в технологическом, а в психологическом смысле
Придерживается схемы Шеннона, в которой любая система коммуникации представляет собой взаимодействие частей: • источник информации • сигнал, несущий инф-ю в закодированном определенным образом виде (особенности речи, голоса) • приемник, обладающий свойством декодировать указанную инф-цию (слуховой системы мозга и психики субъекта восприятия)
Особенность модели Учет роли функциональной ассиметрии мозга человека, являющейся физиологической основой независимости невербальной функции речи от вербальной
Функции головного мозга в процессе коммуникации Левое полушарие Правое полушарие Вербальная функция Невербальная психики функция психики
Особенности • Вербальный (собственно лингвистический канал) и невербальный (экстралингвистический канал) оказываются обособленными во всех звеньях цепи речевой коммуникации • Но между вербальным и невербальными каналами наблюдается взаимовлияние (вертикальные стрелки)
Обозначения ОС 1 – система контроля говорящим образования его собственной роли ОС 2 – система контроля говорящим результата воздействия его речи на слушателя
ЛЕВЫЙ МОЗГ ЛИНГВИСТИЧЕ ЛЕВЫЙ МОЗГ СКАЯ ИНФ-ИЯ ПАРАЛИНГВИС ТИЧЕСКАЯ ИНФ ПРАВЫЙ -ИЯ ПРАВЫЙ МОЗГ ШУМ ОС 1 ОС 2
Модель двухступенчатой коммуникации • П. Лазарсфельд • Б. Берельсон • Г. Годэ
Время усвоения информации Информация поставляемая СМИ, усваивается аудиторией не сразу, а спустя некоторое время под влиянием «Лидеров мнений»
2 этапа усвоения информации • Информация достигает влиятельных и активных людей – «Лидеров мнений» - через формальные каналы • «Лидеры» передают послание дальше посредством прямого контакта с членами своей группы
ЛИДЕР МНЕНИЯ • более чувствителен к информации получаемой по каналам массовой коммуникации • выбирает из списка предложенных источников практически все • не смотрит фильмы • смотрит общественно-политические программы • ЭТО ПОЛИТИЧЕСКАЯ СФЕРА • «Лидер мнения» для исследования представляет сложность, скорее необходимо обращаться к моделированию «Лидера мнений» , т. е. предположить образ того человека, к которому, например, в рекламе могут прислушиваться.
Особенность Воздействие информации, передаваемой через СМИ, через некоторое время не ослабевает, а наоборот усиливается
Рядовые члены группы обращаются за разъяснениями к «Лидерам мнений» в любом случае
Особенности массовой коммуникации • «Отправитель сообщения» - это представитель организации или социального института • В качестве «принимающей стороны» выступает индивид, как представитель конкретной аудитории • Канал сообщения – это технологически сложные системы распространения информации • Сообщения М. К. обладают сложной структурой, подготовка которых невозможна без опоры на совр. Технологии • М. К. имеет публичный характер • М. К. контролируется • Контакты передающих и принимающих сторон явл-ся ограниченными • Принимающая и передающая стороны неравноправны • Адресаты сообщений многочисленны
Родственные «медиа» термины • Mediale – середина, сердцевина • Medianus – находящийся посередине • Mediator - посредник
«Медиа» • Занимает среднее положение • Опосредует взаимодействие отправителя и получателя
Механизм информационного взаимодействия «масс-медиа-общество» • Медиа – это механизм связи между отправителем и получателем сообщения • Посредством медиа замыкается цикл информационного обмена, создаются условия для реализации коммуникации
Сущность информационного взаимодействия «масс-медиа-общество» • С одной стороны существует объективная реальность • С другой стороны существует совокупность знаний и представлений об этой реальности Это и создаётся благодаря наличию медиа
Вопрос 11 Сущность информационных потребностей и интересов
Потребность Психическое явление отражения объективной нужды биологического, социального, личностного характера
Интерес Это форма мотива Мотив – это пристрастно-эмоционально отраженный предмет, отвечающий потребности
Процесс мотивации стимул-потребность-мотив-цель-деятельность Мотив – это опредмеченная потребность Алексей Николаевич Леонтьев Поэтому необходимо говорить о потребностях, которые опредмечиваются интересом
Потребности общества по М. М. Назарову 1. Информационная (информирование о жизни) 2. Социальной связи (интерпретация происходящего, поддержка норм и отношений, социализация, координация соц. активности) 3. Обеспечение преемственности (поддержание доминирующей культуры, узнавание субкультур) 4. Рекреация (отдых, снижение соц. напряженности), Развлечение 5. Мобилизация (организация кампаний в связи с актуальными целями)
Потребности индивида по М. М. Назарову 1. Информационная (получение инф. о ближайшем окружении, самообразование, инф. Для принятия решения) 2. Личностная идентификация (подкрепление ценн. ориентаций, инф. о моделях поведения, понимание самого себя) 3. Интеграция в общество и общение (помощь в реализации соц. ролей, рефлексия) 4. Развлечение (эмоц. разрядка, заполнение св. времени, уход от проблем, эстетич. наслаждение, сексуальное возбуждение)
Потребности с точки зрения индивида Абрахам Маслоу самоактуализации самосовершенствования сопричастности безопасности физиологические
Вопрос 12 Типы массовых информационных процессов
Массовый информационный процесс - это • отражение объективных условий • синтез различных информационных потоков (элементы общественного, научного знания, иллюзии, стереотипы, предубеждения, подсознательные влечения, моральные нормы, идеологические ценности) • объект идеологического и политического толкования и разного рода интерпретаций • процессы, которые имеют свойственные им законы развития и функционирования • существуют во взаимодействии с институционализированными и неинституционализированными источниками информации
Типы инф. процессов • Ненаправленные • Однонаправленные • Двунаправленные • Трехнаправленные
Вопрос 14 Понятие информационного общества. Структура и характеристика информационного потока
Информационное общество Концепция общества конца XX века Выдвигает на 1 -й план • Снижение зависимости общества от промышленного производства • Возникновение новых отраслей сферы услуг • Акцент на роли знания в производстве
Автор концепции информационного общества Даниэл Белл «Пришествие постиндустриального общества» (1979 г. )
Основной признак информационного общества Это - повышение значения высшего образования Основанные на знаниях профессиональные группы все более преобладают в рамках классовых структур
Постиндустриальное (информационные) общество • Выступает разновидностью посткапиталистического общества • Это общество, в котором собственники капитала уступили власть профессиональным менеджерам
Появление в России PR-специалистов Это свидетельство предпосылок развития информационного общества
Массовый информационный поток Циркулирующая в обществе информация. Охватывает массовидные процессы, которые связаны производством, распространением и потреблением информации, отражающие все сферы жизнедеятельности общества, и активно используемой различными социальными группами
Характеристика МИП • Большая мобильность (оперативность производства и скорость передачи информации) (1 – радио, 2 – ТВ, 3 – печать) • Тенденция к постоянному возрастанию информации • Обладает гибкостью и изменчивостью содержания • Обладает избыточностью • Обладает разнообразием видов информации
Признаки МИП – Размах циркуляции в информационном поле – Время циркуляции (жизненный цикл информации – 3 месяца самый длительный) – Направленность, движение информации к потребителю – Эмоциональная окраска – Способ и цель производства информации
Структура МИП • Источник информационного потока • Канал информационного потока • Содержание сообщений информационного потока • Аудитория информационного потока • Эффективность МИП

