d1b344d689537f93f2dbbaf86682f387.ppt
- Количество слайдов: 20
Spelling it all out: FRAD, ISNI, RDA, VIAF automation and the future of authority control Alan Danskin Metadata & Bibliographic Standards Coordinator British Library A. Rose, by any other name: a workshop on authority control CILIP HQ, Ridgmount St. , London Friday 23 rd October, 2009
Overview Challenge n Scope n Scalability n Automation The solution? –Interparty, FRAD, RDA, MARC 21, –EAC, FO: AF; ISNI, VIAF, Names 2 Conclusions 2
Functions of the catalogue “The catalogue should be an efficient instrument for ascertaining…which works by a particular author are in the library. ” Statement of Principles, Paris, 1961 “The catalogue should be an effective and efficient instrument that enables a user …to find sets of resources representing all resources associated with a given person, family, or corporate body” Statement of International Cataloguing Principles, 2009 3
Scope of authority control Which names do we control? n Names of authors and some contributors of published books n Composers of sheet music n Names of corporate bodies responsible for official publications n Names associated with resources catalogued since 1981 n Names associated with audio or audio visual resources, where possible Which names do we exclude? n Names of authors of journal articles or chapters of published books n Contributors whose names fall towards the end of the alphabet or whose contribution we regard as insignificant n Names associated with archival or manuscript material n Names derived from older catalogues n Names associated with most Web Resources n Names in the content management system / institutional repository 4
Publication and research Communicating knowledge: “The only major exceptions to the dominance of the journal article are the How & why UK researchers publish & continuing high status attached to disseminate their findings monographs and edited volumes in the / Research Information Network and JISC. humanities, and to practice-based 17 September 2009 outputs in the arts. Yet even in the http: //www. jisc. ac. uk/publications/document humanities, journal articles are now by far s/communicatingknowledgereport. aspx the largest publication format by volume; ” “In computer science, for example, the pace of change means that conferences are particularly important, and these may attract higher prestige than journal articles…Repositories have achieved less traction in the humanities and social sciences than in many science and engineering subjects. “ 5
The problem There is a gap between ambition and delivery Only some names on some types of resources are controlled User expectations are changing Silos: n Libraries / Archives / Repositories / Museums n National practices n Institutional practices n Variance over time Is partial authority control acceptable to users? If not, will it be acceptable to administrators? 6
UK “published” output 2009 -09 213404 1525662 7
Workflows Current workflows are not scalable Retrospective Cataloguer driven Decision making n Is A. Rose Ph. D the same person as Dr. Alex Rose, University of London? n What other information is available? n Is it sufficient to match or disambiguate the identities? n Is there a website / contact details? 8
Rethinking the process Capture information about the person, family or corporate body at the time the resource is created Devolve responsibility to authors, publishers, researchers and academics Libraries and bibliographic agencies focus on quality control, complex relationships and conflict resolution. Capture information in a way that is machine intelligible. n Identification of entities not disambiguation of headings 100 10. $a. Luckombe, Philip, $dd. 1803 046 ## $g 1803 100 10. $a. Luckombe, Philip, $dd. 1803 9
Automation Identification n ISNI Contextual information n FRAD, RDA, MARC 21 Matching n VIAF, Names Linking n Controlled vocabularies Confidence 10
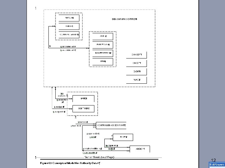
Models Interparty - http: //www. interparty. org/ n EU Project 2002 -2003 n Public identities not persons n Linking not merging n Authority – i. e. who makes the assertion FRAD Functional Requirements for Authority Data n Extension of FRBR model to authority data n Separation of names from the person, family or corporate body n Recognition of different rules http: //www. ifla. org/publications/ifla-series-on-bibliographiccontrol-34 11
12
RDA will replace AACR 2 RDA is based on the FRBR and FRAD Models choice of access points FRBR relationships form of headings attributes of FRAD entities references FRAD relationships access points are controlled AACR 2 does not cover authority control RDA does, but doesn’t use the term authority control http: //www. rda-jsc. org/ 13
ISNI: International Standard Name Identifier http: //www. isni. org/ Draft ISO Standard (ISO 27729) A “bridge “ Identification of Public Identities n Natural Persons n Legal Persons n Fictional Characters n Groups n Incorporated entities ISNI 1422 4586 3573 0476 Libraries, rights management, book trade, publishers, media content industries Registration Metadata 14
VIAF: The Virtual International Authority File OCLC Bibliothèque nationale de France Bibliotheca Alexandrina (Egypt) National Library of the Czech Republic Deutsche Nationalbibliothek National Library of Israel Library of Congress/NACO Match & Link Authority Files n Reduce costs n Increase utility n Retrospective alignment of bibliographic data National Library of Sweden Vatican Library Prototype http: //viaf. org/ Linked Data http: //outgoing. typepad. com/outgoing/2009/09/viaf-as-linkeddata. html 15
Names Funded by JISC Repositories and preservation programme n Led by MIMAS n British Library is a partner National Names Service Phase 1 – prototype n Data model based on FRAD n Mappings from MARC 21; ISAAR CPF; SWAP; NLM DTD Phase 2 – Develop national names service n Author submission n Institutional Repositories n UKPMC n Intute 18
It’s not just about libraries… FO: AF Friend of a Friend n Social networking metadata n Granularity of parts of a name n http: //xmlns. com/foaf/spec/ EAC-CPF: Encoded Archival Context – Corporate Bodies, Persons, and Families n Communication standard for exchange of authority records n ISAAR (CPF) n Draft Standard http: //eac. staatsbibliothek-berlin. de/ 19
Conclusion Controlling names remains important in the context of linked data and the Semantic Web Identification and collocation of variants is more important than establishing a preferred form Current techniques are not scalable Automation and participation are the way forward Web services for identification No simple solution Exension of the collaborative model 20
Links and references
Links and references The knowledge network: British Library annual report & accounts, 2008/09 http: //www. bl. uk/about/annual/2008 to 2009/index. html Library of Congress Acquisitions and Bibliographic Access Directorate Report of Fiscal Year 2008 (Fiscal Year Ended September 30, 2008) http: //www. loc. gov/catdir/cpso/aba 08. pdf Names Project http: //names. mimas. ac. uk/ Statement of International Cataloguing Principles http: //www. ifla. org/publications/statement-of-international-cataloguing-principles RDA: Resource Description & Access http: //www. rda-jsc. org/ United Kingdom Repositories: table of record totals http: //www. nostuff. org/ircount/table. php? frequency=monthly&country=uk Virtual International Authority File: VIAF http: //viaf. org/ 22


