5dd91a5ca204911bccc4cd909650924b.ppt
- Количество слайдов: 32
PCM Modem Standard: ITU draft recommendation V. 90 Joe Decuir, Microsoft, Windows Operating Systems Division
ITU V. 90 presentation, outline • • • Phone lines and their limits How traditional modems work, up to V. 34 How PCM modems get so fast Why PCM modems aren’t faster. Some details of V. 90 Where we go from here
Summary of phone system • • The 2 -wire pair to your house is analog. The analog pair is DC feed plus duplex AC. AC includes 20 Hz 86 Vac ringing and loads The inside is digital, limited by the codecs: – 4 k. Hz bandwidth, useful from 200 -3700 Hz – 8 k. Hz sample rate – 8 bit companded A/D/A (ITU G. 711)
G. 711 PCM coding • 8 bits/value: 1 sign, 3 exponent, 4 mantissa • 16 segments, each with 16 linear steps • Step size at full-scale is 128 times step size at origin. • Monotonic, but not linear • 13 bit total dynamic range • Two variations: mu-Law, A-Law
G. 711 Transfer curve codes Low precision at high levels. High precision near the origin Analog values
Network Impairments • • • Tandem Encoding: digital-analog-digital. . ADPCM encoding (G. 721, G. 726) Loaded loop Robbed Bit Signaling (RBS) Digital Loss Pads A-Law/mu-Law conversion
More Network Impairments • • • D/A converter non-linearity's Frequency dependent non-linearity Talker echo Residual loop noise Residual loop distortion
How modems work • Establish channels by some means: – frequency division multiplex (FDM) – time division multiplex (TDM) – echo cancellation multiplex (ECM) • Map data into symbols: – Frequency shift key (FSK) (1 bit/symbol) – Phase shift key (PSK) (1 -3 bits/symbol) – Quadrature amplitude modulation (QAM) • Bit rate = symbol rate x bits/symbol
Legacy analog modems • • Bell 103 (1960 s): FDM, FSK, 0 -300 bit/s Bell 212 (1970 s): FDM, PSK, 1200 bit/s V. 22 bis (1984): FDM, QAM, 2400 bit/s V. 32 (1986): ECM, QAM, 9600 bit/s V. 32 bis (1991): ECM, QAM, 14400 bit/s V. 34 (1994): ECM, QAM, 28800 bit/s V. 34 (1996): ECM, QAM, 33600 bit/s
How V. 34 got so fast, 1 of 3 • Probes the line at startup for maximum bandwidth (V. 32 uses 2400 Hz symbol rate; V. 34 max is 3429, 10/7 ths larger) • Probes the line attenuation characteristics, and pre-emphasizes (like Dolby). • Advanced forward error control, 16 state 4 D Wei codes, 20% overhead.
How V. 34 got so fast, 2 of 3 • Adaptively adjusting equalization and precoding. • Nonlinear Encoding: introduce distortion to compensate for PCM encoding. • Shell Mapping: map data bits to signal points in a multidimensional constellation, partitioning a 2 -D signal constellation into rings containing an equal number of points.
How V. 34 got so fast, 3 of 3 • Given all the improved S/N ratio from the preceding tricks, using very dense symbol constellations: – V. 32 (1986): 32 points - 4+1 bits/symbol – V. 32 bis (1991): 128 points - 6+1 bits/symbol – V. 34 (1994): 960 points - net 8. 4 bits/symbol – V. 34 (1996): 1664 points - net 9. 8 bits/symbol
How can you go faster? • Change the system: go digital on one side, with ISDN or T 1 lines: – Only one analog loop - halve the impairments. – No echo from digital side. – No quantization noise in downlink direction. – Direct access to the G. 711 PCM clock: 8 k. Hz – Direct access to the G. 711 PCM DAC: 8 bits
Traditional Modem Model
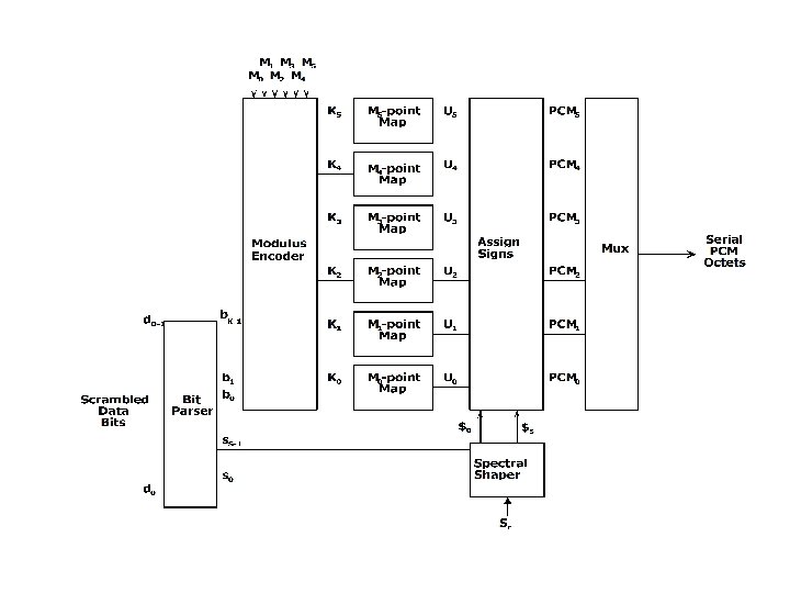
PCM Digital Modem Model
Why can’t we go 64000 bit/s? • • • Residual noise hurts close to the origin. Signal power limits clip peak code values. Codec filters hurt close to 4 k. Hz. Line card transformers won’t pass DC. Ring detectors are a big load below 100 Hz. Other digital impairments, particularly RBS and Digital Loss Pads.
Bit rate limiting envelope Signal max signal, power from FCC 70 Hz minimum frequency, from DC and Ring detectors -10 dbm maximum frequency, from codec filters noise floor, from codec quantizer 3900 Hz -48 dbm frequency
How do we get close to 56 K? • Adaptively probe the line, and determine the operational limits • Mapping and framing: multiple modulus conversion (3 Com) - fractional bits/symbol • Convolutional Spectral Shaping (Motorola) • Digital Impairment Detection & Mitigation.
Digital Impairment Training • The analog modem sends a “DIL Descriptor” (Table 12/V. 90) to the digital modem, which is used to generate a PCM signal sequence back to the analog modem. • The analog modem continues this process until it has identified the digital network impairments, and informed the digital modem of how to compensate.
Example DIL Parameters • • • N, number of segments (0 -255) Lsp, Ltp, lengths of sign & training patterns SP, Single Sign Pattern bit map sequence. TP, Training Pattern bit map sequence. H 1 -8 signal length multipliers (L=6*(H+1)) REF 1 -8 reference symbol values.
Uses for DIL sequences • • Identify and locate RBS Calibrate digital loss pads Calibrate the PCM codecs Recognize and compensate for A-Law to mu -law conversion.
What do we get realistically? • In Microsoft’s WHQL test lab, with average line simulators, X 2™ units typically ran at 50 K, K 56 flex™ units typically ran 44 K. • Modem vendors contributed new tricks, hoping to bargain later on patents. V. 90 products benefit, but the lawyers do, too. • WHQL is tooling up to do V. 90 interoperability, but we don’t have new data yet.
Is this asymmetric? • X 2, K 56 Flex and V. 90 are asymmetric, with a V. 34 uplink and a PCM downlink. • Lucent has proposed means to calibrate the line delay from the user modem to the local office. • This trick will allow a PCM uplink as well, maybe 44 K bit/s or higher. • That may make IP telephony & H. 323 video -conferencing usable on modems.
What does this cost? • Not much, actually! • There is a lot less DSP work to do per symbol for PCM modems vs V. 34. • But, there are more symbols: 8000 vs 3429 • The analog front ends are similar. • Result: the hardware is essentially the same. Private estimate are 20 MIPS for both. • There at least 8 vendors planning to offer software based modems.
The V. 90 standards process • Nobody wants to buy a modem that is obsolete in less than a year. • ITU Study Group 16, fed by TIA TR-30. 1, drove this aggressively, meeting monthly. • They “determined” a draft in February. • They plan to “decide” it next September. • Anything that says “V. 90” today is ‘beta’.
Where to go from here? • The second version of V. 90 (“Issue 2”) will address duplex PCM modulation. • All the modem vendors are working on ITU “G. lite”, from Q 4/15, also known as Universal Asymmetric Digital Subscriber Line (UADSL). It uses the same phone wire, but with much wider spectrum, and runs a lot faster.
References (1 of 2) • Modems: – Theory and Practice of Modem Design, Bingham, Wiley Interscience. – Data Communication, Lee & Messerschmidt, KAP, book on modem DSP • V. 34 and V. 90: – The V. 34 High Speed Modem Standard – The Information Driveway – IEEE Communications Magazine, vol 34. 12
References (2 of 2) • ITU-T V. 34 -1996 • ITU-T Q. 23/16 TD 70(Plen), Proposed text for V. pcm, February 4, 1998.


