Заголовки SOH POH (для ЗС).ppt
- Количество слайдов: 7
Область действия заголовков
Секционный заголовок SOH
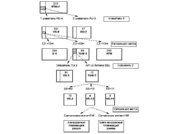
Трактовый заголовок POH-HO Байты РОН Назначение 1 J 1 Индикатор маршрута 2 B 3 Мониторинг качества (код BIP-8) 3 C 2 Указатель типа полезной нагрузки 4 G 1 Подтверждение ошибок передачи 5 F 2 Сигналы обслуживания 6 H 4 Индикатор сверхцикла 7 E 3 Служебная связь 8 K 3 Автоматическое переключение (APS) 9 N 1 Мониторинг взаимного соединения (ТСМ)
Значения указателя типа полезной нагрузки в байте C 2 Бинарный вид 0000 0001 0000 0010 0000 0011 0000 0100 0001 0011 0001 0100 0001 0101 0001 0110 0001 0111 0001 1000 0001 1001 0001 1010 0001 1100 1111 HEX 00 01 02 03 04 12 13 14 15 16 17 18 19 1 А 1 С FE FF Значение контейнер не загружен контейнер не используется (нагрузка не определена) структура TUG-2 байт-синхронный TU-n асинхронная загрузка Е 3 или DS-3 асинхронная загрузка Е 4 загрузка ATM загрузка MAN DQDB загрузка FDDI сигнал HDLC/PPP SDL с самосинхронизирующимся скремблером SDH сигнал HDLC/LAPS SDL с устанавливаемым/сбрасываемым скремблером Ethernet 10 Gb кадры оптического канала 10 Гбит/с тестовый сигнал по рек. O. 181 VC – AIS в случае поддержки ТСМ
Трактовый заголовок POH-LO Сигнальная метка Бит 5 Бит 6 Бит 7 Тракт не установлен 0 0 0 Тракт установлен, но не определен 0 0 1 Асинхронный плавающий режим 0 1 0 Байт-синхронный плавающий 1 0 0 режим Тракт определен, но не 1 1 0 используется
Заголовки SOH POH (для ЗС).ppt