Лекция 2 ГИМ.pptx
- Количество слайдов: 48
. Наличие сборочных чертежей позволяет правильно производить сборку и разборку изделия и его составных частей, а также пользоваться этими чертежами при эксплуатации и ремонте.
Сборочный чертеж является документом, содержащим изображение сборочной единицы и другие данные, необходимые для ее сборки (изготовления и контроля).
1. Минимальное, но достаточное количество изображений (виды, разрезы, сечения), дающих полное представление об устройстве изделия, расположении и взаимной связи составных частей, соединяемых по данному чертежу, обеспечивающее возможность осуществления сборки и контроля сборочной единицы.
. 2. Размеры, указываемые на сборочном чертеже изделия, подразделяются следующим образом:
▪ Габаритные – характеризуют три измерения изделия (высоту, длину и ширину) или его наибольший диаметр. Если какая-либо из этих величин является переменной вследствие перемещения подвижных частей изделия, то на чертеже указывают ее значение при крайних положениях этих частей;
▪Установочные и присоединительные – определяют расположение и размеры элементов, по которым изделие устанавливают на месте монтажа или присоединяют к другому изделию (например, диаметры центровых отверстий, расстояния между отверстиями для крепления);
Эксплуатационные – определяют расчетную и конструкторскую характеристики изделия, (например, диаметр проходного отверстия, размер резьбы на присоединительном штуцере, размеры «под ключ» , число зубьев и т. д. ).
. 3 Номера позиций составных частей, входящих в изделие. 4. Технические требования и техническую характеристику изделия. 5. Спецификацию.
▪, галтели, проточки, углубления фаски, выступы, накатки, насечки и другие мелкие элементы;
▪ видимые составные части изделий или их элементы, расположенные за пружиной или сеткой; ▪ надписи на табличках, шкалах, изображая только их контур.
▪ крышки, щиты, кожухи, маховики и т. д. , если необходимо показать закрытые ими составные части изделия. В этом случае соответствующее изображение должно сопровождаться поясняющей надписью типа: Крышка поз. 3 не показана;
Детали, изготовленные из прозрачного материала, вычерчиваются как непрозрачные. Подвижные детали, занимающие в изделии в рабочем состоянии различные положения и сопрягающиеся с неподвижными деталями, изображаются в крайних положениях штрихпунктирной линией с двумя точками.
Такие детали, как болты, винты, шпонки, штифты, клинья, шпиндели, рукоятки, шатуны, непустотелые валы в продольном разрезе на сборочных чертежах изображаются нерассеченными и, (незаштрихованными ) Шарики всегда показываются нерассеченными
На всех разрезах и сечениях сборочных чертежей изделий, для одних и тех же деталей, при нанесении графических обозначений материалов для металлов и твердых сплавов штриховка должна быть направлена в одну и ту же сторону. . Узкие площадки сечений на чертеже (шириной 2 мм и менее), подлежащие штриховке, допускается показывать зачерненными Для пояснения формы узких площадок сечений можно применить выносной элемент.
▪ типовые, покупные и другие широко применяемые изделия изображают внешними очертаниями, которые, как правило, следует упрощать, не показывая мелких выступов, впадин и т. п. ▪ болты, винты, шпильки изображают упрощенно; ▪ изделия, расположенные за винтовой пружиной, показанной лишь сечениями витков, изображают до зоны, условно закрывающей эти изделия и определяемой осевыми линиями сечений витков
▪ одинаковые по форме и размерам равномерно расположенные элементы или детали не вычерчивают, а изображают лишь один элемент или одну деталь; ▪ линии перехода вычерчивают упрощенно, заменяя лекальные кривые дугами окружностей или прямыми линиями;
▪ маховики, рукоятки и другие съемные детали вычерчивают, как правило, только на главном изображении. На виде сверху такие детали показываются с обрывом или совсем не показываются. Вторая проекция маховика изображается обычно на свободном поле чертежа;
▪ Вентили, клапаны обратные, клапаны предохранительные, задвижки изображают на сборочных чертежах в закрытом положении. Краны трубопроводов (шаровые, пробковые) – в открытом положении (рабочее положение пробки или шара крана обеспечивает движение жидкости, газа по трубам). Величину конусности пробки обычно берут равной 1: 7
Уплотнительные устр тва Уплотнения различных видов служат для обеспечения герметичности в подвижных и неподвижных соединениях деталей, для предотвращения утечки рабочей среды, защиты поверхностей от пыли, грязи и т. п.
выполняются в зазорах между торцевыми поверхностями деталей (фланцев, крышек и т. д. ) с помощью прокладок. Прокладки устанавливают под крышки, фланцы корпусов вентилей, двигателей и других деталей. Их форма определяется формой уплотняемых поверхностей. В зависимости от свойств среды и условий работы устройства применяют уплотнительные прокладки из текстолита, резины, прессшпана, паронита
выполняются в зазорах между сопряженными цилиндрическими поверхностями с помощью колец, манжет и консистентных смазок, закладываемых в кольцевые проточки одной из сопрягаемых деталей уплотнительные кольца с различной формой поперечного сечения изготавливаются из технического войлока, технической резины, фетра, полимеров и других материалов.
применяют для медленно или редко перемещающихся друг относительно друга цилиндрических поверхностей деталей арматуры. Оно состоит из крышки сальника (нажимной гайки), втулки, набивки и крепежных деталей.
Набивку, ( в качестве которой используют пеньковое или льняное волокно, набор колец из асбеста и другие материалы) закладывают в кольцевое пространство сальниковой камеры и прижимают крышкой сальника, нажимной гайкой через втулку или резьбовой втулкой, которые на сборочных чертежах изображают в поднятом положении
Крепление клапанов Плотность (герметичность) системы трубопроводной аппаратуры обеспечивают клапаны, золотники с мягкими уплотнительными прокладками (кожа, резина)
Крепление клапанов на головке шпинделя должно обеспечивать свободный поворот клапана. В зависимости от формы и назначения клапана применяют крепление различных конструкций
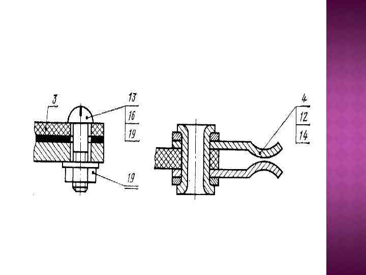
На сборочном чертеже все составные части сборочной единицы нумеруют в соответствии с номерами позиций, указанными в спецификации этой сборочной единицы. Нанесение номеров позиций осуществляется по принципу сквозной нумерации.
Номера позиций наносят на полках линий-выносок, проводимых от изображений составных частей. Один конец линии-выноски соединяется с полкой, а другой заканчивается на изображении детали точкой. Если изображение составной части очень мало, линию-выноску заканчивают стрелкой.
Номера позиций указывают на тех изображениях, на которых соответствующие составные части проецируются как видимые, как правило, на основных видах.
Номера позиций располагают параллельно основной надписи чертежа вне контура изображения и группируют в колонку или строчку по возможности на одной линии.
Линии-выноски не должны пересекаться между собой, по возможности не должны пересекать изображения других составных частей изделия и размерные линии, а также не должны быть параллельны линиям штриховки.
Размер шрифта номеров позиций должен быть на один- два номера больше, чем размер шрифта, принятого для размерных чисел на том же чертеже. Допускается делать общую линиювыноску с вертикальным расположением номеров позиций
-представляет собой текстовый документ, определяющий состав изделия. Спецификацию составляют на отдельных листах формата А 4 на каждую сборочную единицу по форме приведенной
▪ документация, ▪ комплексы, ▪ сборочные единицы, ▪ детали, ▪ стандартные изделия, ▪ прочие изделия, ▪ материалы, ▪ комплекты. Наличие тех или иных разделов определяется составом специфицируемого изделия.
изделия, применяемые по государственным и отраслевым стандартам. В пределах каждой категории стандартов запись рекомендуется производить по группам изделий, объединенных по их функциональному назначению, в пределах каждой группы – в алфавитном порядке наименования изделий, в пределах каждого наименования – в порядке возрастания обозначений стандартов, а в пределах каждого обозначения стандарта – в порядке возрастания основных параметров или размеров изделия.
Лекция 2 ГИМ.pptx