Министерство сельского хозяйства Республики Казахстан Казахский агротехнический университет
Министерство сельского хозяйства Республики Казахстан Казахский агротехнический университет им. С. Сейфуллина БАЙГАЗОВ НУРЖАН КОБЕСОВИЧ Проект совершенствования размольного отделения Ново-Альжанского мукомольного завода в г. Актобе с увеличением производительности до 300т/сут и выхода муки высшего сорта
Ново-Альджанский мелькомбинат» – предприятие с 25-летней историей.ТОО "Ново-Альджанский мелькомбинат" является структурным подразделением крупного объединения "ЗЕРНОВАЯ ИНДУСТРИЯ", которое представлено на рынке муки и макарон под торговой маркой "Granum" и было образовано в 1991 году на базе элеватора.
Адрес: 41 разъезд 9В, Актобе 030011
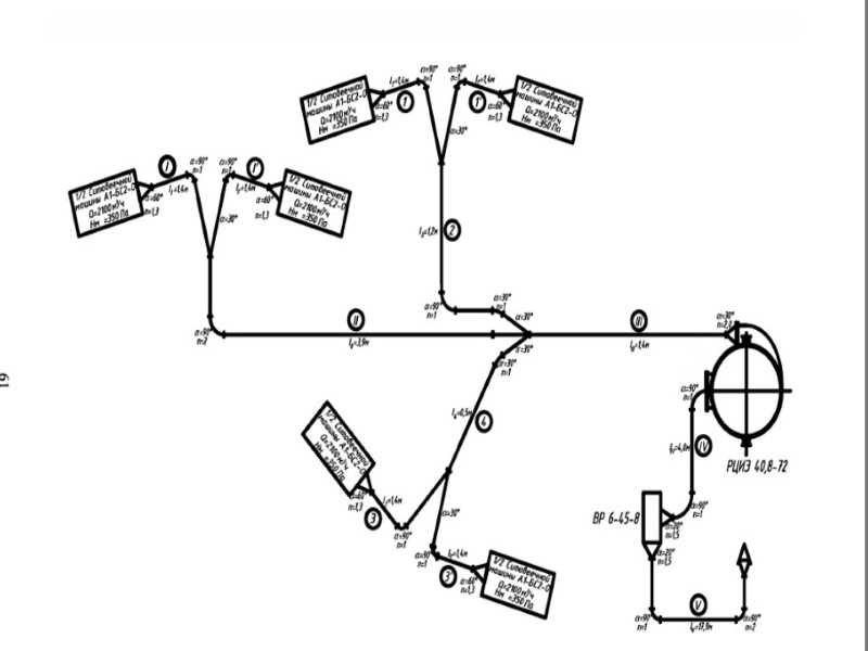
Исходные данные для дипломного проета Для выполнения дипломного проекта на тему: «Проект совершенствования размольного отделения Ново-Альджанского мукомольного завода в г.Актобе с увеличением производительности до 300 т/сут и выхода муки высшего сорта» принимаем следующие исходные данные: - место реконструкции – г. Актобе - производительность- 300 т/сут; - вид помола- хлебопекарный из зерна пшеницы; - общий выход муки - 75%, в том числе: - высший сорт – 40%; - I сорт – 20%; - II сорт – 15%; -предусматривать в проекте оборудование итальянской фирмы «Окрим»
Предлагаемое совершенствование (реконструкция) позволит увеличить производительность до 300 т/сут с установкой дополнительного оборудования, а увеличение выхода муки высшего сорта до 50% произведем за счет снижения выхода муки первого сорта до 20%, чему способствуют качественные показатели потоков муки, получаемых в размольном процессе. При эксплуатации мукомольного завода необходимо ориентироваться на потребности рынка и определить свои задачи по выпуску готовой продукции с высокими качественными показателями и потребительскими свойствами. В большинстве случаев именно высокое качество муки определяет успех дела.
21616-diplomnyy_proekt.ppt
- Количество слайдов: 12

