Инженерная графика Занятие 10. 7. Виды




























Инжененрая графика 10.6 Схемы.ppt
- Количество слайдов: 28
Инженерная графика
Занятие 10. 7. Виды и типы схем • Виды и типы схем. • Правила выполнения схем. • Кинематические схемы. • Электрические и гидравлические схемы. • Схемы пожарно-технических систем.
Вопрос 1. Виды и типы схем. Схема – конструктивный документ, на котором показаны в виде условных изображений и обозначений составные части изделия и связь между ними. Классификация схем, их виды, типы и общие требования к ним указаны в ГОСТ 2 701 -84.
основные виды (в зависимости от характера, входящих в состав изделия элементов и связей между ними) • кинематические К • гидравлические Г • пневматические П • электрические Э
основные типы (в зависимости от основного назначения схемы) 1. Схемы структурные • определяют основные функциональные части изделия, их назначение и взаимосвязь. 2. Схемы функциональные • поясняют процессы, протекающие в отдельных функциональных цепях изделия 3. Схемы принципиальные • определяют полный состав элементов изделия и связей между ними, дающих детальное представление о принципах работы изделия.
4. Схемы соединений (монтажные) • показывают соединения составных частей изделия и определяющие провода, кабели, трубопроводы, осуществляющие эти соединения, а также места их присоединений и ввода. 5. Схемы подключения • показывают выполнение подключения изделия к внешним устройствам. 6. Схемы общие • определяют составные части комплекса изделий и соединения между ними Наименование схемы определяется видом и типом схемы (К 3 – кинематическая принципиальная схема).
Вопрос 2. Правила выполнения схем. Общие требования к выполнению схемы. 1. Форматы листов бумаги, на которых выполняются схемы и их оформление должны соответствовать стандарту ЕСКД ГОСТ 2 301 – 68. 2. Основные надписи на схемах выполняются по стандарту ЕСКД ГОСТ 2 104 – 68. 3. При выполнении схем могут использоваться условные графические обозначения установленные стандартами ЕСКД (при этом никаких пояснений не делают). Но на схемах могут также использоваться нестандартные обозначения, но уже с пояснениями. 4. Схемы выполняют без соблюдения масштаба, но с учетом возможности размещения элементов изделия на формате. 5. На схемах обозначение каждого элемента и толщина линий должны быть одинаковыми на всех форматах схемы. Расстояние между двумя соседними элементами должно быть не менее 1 мм. , а расстояние между графическими обозначениями – не менее 2 мм.
6. На схеме условно графические обозначения, как правило, изображаются в таком же положении, в каком они приведены в стандарте, в случае необходимости элементы могут быть повернуты на углы 45 и 90. 7. Каждый элемент схемы должен иметь буквенное, буквенно- цифровое или цифровое обозначение, при этом, как правило, цифры проставляются после букв. Обозначения проставляются на схемах над элементом или справа от него, элементы схемы одного вида должны иметь одинаковые буквенные обозначения. 8. Линии связи между элементами схемы должны иметь минимальное число изломов и пересечений. Как правило, линии связи должны располагаться горизонтально или вертикально. Расстояние между параллельными линиями связи должно быть не менее 3 мм. Толщина линии связи и графических обозначений элементов должны быть в пределах 0, 2 -1 мм (оптимальная величина 0, 3 -0, 4). 9. Около граф обозначений элементов сверху или справа указывают номинальное значение их параметров (число зубьев шестерен, силу тока). На свободном поле схемы могут располагаться таблицы, диаграммы, технические условия.
10. Текстовые надписи на схемах должны приводиться в ограниченных количествах, в кратком и ясном исполнении. Текст надписи располагается, как правило, над основной надписью, слева от нее или на отдельном листе формата А 4, который прилагается к схеме. 11. Правила выполнения отдельных видов схем установлены следующими стандартами: кинематические схемы – ГОСТ 2 703 – 68, гидравлические и пневматические схемы – ГОСТ 2 704 – 68, электрические схемы – ГОСТ 2 702 – 75. 12. На схеме над основной надписью помещается таблица с перечнем элементов схемы, расстояние между этой таблицей и основной надписью должно быть не менее 12 мм. При необходимости ее можно разместить на отдельном формате А 4.
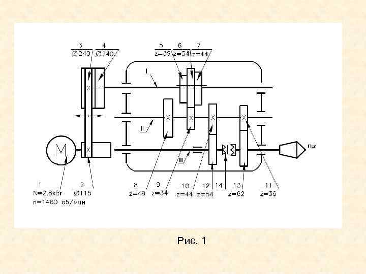
Вопрос 3. Кинематические схемы. Кинематическая схема – чертеж, на котором при помощи условных обозначений элементам дается упрощенное изображение кинематической связи между отдельными элементами данного механического изделия (ГОСТ 2 704 - 68). Кинематические схемы бывают: принципиальные, структурные, функциональные;
На принципиальных схемах показывают кинематические элементы изделия и их соединение, в том числе источник движения исполнительные механизмы. На них изображают: основными толстыми линиями (S) - валы, оси, стержни, шатуны, сплошными тонкими линиями (S/2) -зубчатые колеса, шкивы тонкими сплошными линиями (S/3) -контур изделия, в котором вписана схема.
Рис. 1
На принципиальной кинематической схеме должны быть показаны: все кинематические элементы изделия и их соединения, в том числе с источником движения и исполнительным механизмом. При необходимости на схеме показывают очертания контуров изделия в целом сплошными тонкими линиями
На принципиальной схеме изделия указывают (на полке линии – выноски, проведенной от соответствующей группы), обозначение каждой кинематической группы элементов, основные их характеристики и параметры. Кинематические элементы на схеме, как правило, обозначаются цифрой – порядковым номером элемента, начиная от источника движения (двигателя).
При необходимости показать пространственное расположение отдельных элементов изделий их кинематические схемы могут изображаться в аксонометрических проекциях
• На кинематических структурных схемах изделия изображают все его составные функциональные части и основные взаимосвязи между ними.
На кинематических функциональных схемах изделия изображают его функциональные части, участвующие в процессе, который отображается на схеме, и связи между этими частями.
Вопрос 4. Электрические и гидравлические схемы. Выполняются в соответствии со стандартами ГОСТ 2 704 – 76. Гидравлические и пневматические схемы бывают: - Принципиальные; - Структурные; - Схемы соединений;
Принципиальные схемы определяют состав элементов гидравлических и пневматических систем, связи между ними и дают детальное представление о принципах из работы
• Структурные схемы определяют состав принципиальных элементов гидравлических и пневматических систем, и порядок их взаимодействия
Схемы соединений определяют порядок соединения элементов гидравлических и пневматических систем.
Электрической схемой называют графическое изображение электрических цепей, изображенных в соответствии со стандартами или общепринятыми условными обозначениями, а также связей между элементами изделия, раскрывающих принцип его работы. (ГОСТ 2 702 - 75). Электрические схемы бывают: структурные; функциональные; принципиальные;
На принципиальной электрической схеме изображают все электрические элементы или устройства, необходимые для осуществления и контроля в изделии электрических процессов, электрические связи между ними, а также электрические элементы, которыми заканчиваются входные и выходные цепи. Как правило, схемы выполняются для изделий, находящихся в отключенном положении.
Вопрос 5. Схемы пожарно-технических систем. При разработке, производстве, монтаже, эксплуатации и ремонте различных пожарно-технических систем широкое применение находят различные виды и типы схем, позволяющие четко уяснить состав систем, взаимосвязи между различными элементами, принцип их действия. Схемы применяются при разработке: планов пожаротушения, планов пожарной защиты объектов, планов эвакуации, систем пожарной сигнализации и оповещения о пожаре, систем связи.
• Виды и типы пожарно-технических схем, правила их выполнения и общие требования, предъявляемые к ним, определяет ГОСТ 2. 701 – 76. Условно графическое, пожарно-технические правила выполнения пожарно-технических планов определяет ГОСТ 12. 1. 114 – 82.
Схема пожарной сигнализации
Схема размещения и установки пожарно-охранной сигнализации
ПЛАН эвакуации людей при пожаре

