ГИС И ДМ в современной геоэкологии Схема полнокомпонентной



































































































































185-gis_dm_v_geo.pptx
- Количество слайдов: 133
ГИС И ДМ в современной геоэкологии
Схема полнокомпонентной ГИС
Послойный метод представления данных
Реки и озера ЛО
Выведение полноценной информации - карты
ДМ – техническая и информационная основа ГИС
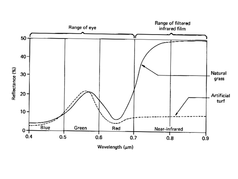
Спектрофотометрические кривые
«Чистые цвета» ЭМС
БИК ИТ Флюоресцентная
Классификация съемок Местоположение сенсора; Способ и метод покрытия территории снимками; Положение главной оптической оси; Способ регистрации ЭМР; Масштаб съемки;
Местоположение сенсора Поверхность Земли Вышка Легкомоторный летательный аппарат Самолет – лаборатория КЛА
Способ и метод покрытия снимками территории Кадровая; Щелевая; Панорамная; Одинарная; Маршрутная; Площадная.
Схемы АФС
Схемы АФС
Фотографическая и нефотографическая (цифровая, телевизионная, радарная…); СКМ: до 1: 5000; КМ: 1:10 000; СМ: 1:30 000; ММ: 1:50 000; СММ: 1:80 000;
Платформы - носители ЛАЛВ; БЛА; Легкомоторные воздушные суда; Самолеты – лаборатории; Самолеты ВВС; Вертолеты для съемки и ОЛХ;
Жан Наварр, 1916
«С. М. Киров»
РосАэро
«Гинденбург»
DA-42 MPP c аэрофотоаппаратом UltraCamX
АН-2
МИГ-29
«Ресурс – ДМ»
Landsat - 7
МКС
Шатл «Дискавери»
«Хассельблад – 4»
«Джемини…»
МКФ-6, МСП-4
Аэрофотоаппарат UltraCam-X.
Светофильтры Монохроматические; Селективные; Компенсационные; Нейтральные;
Сенсибилизация ч-б эмульсий
Результаты аддитивного синтеза цвета следующие: Красный + зелёный = жёлтый Синий + зелёный = голубой Красный + синий = пурпурный Красный + зелёный +синий = белый Смешение трёх основных спектральных цветов поровну создаёт белый цвет. Изменяющаяся яркость этих цветов складывается при смешении цветов. Цвет, полученный в результате аддитивного синтеза, соответственно будет всегда ярче, чем каждый отдельный цвет, который был смешан. Цветной телевизор - типичный пример аддитивного синтеза цвета.
Субтрактивный синтез физических цветов является прямой противоположностью аддитивного синтеза основных спектральных цветов. Вторичные спектральные цвета: пурпурный, жёлтый и голубой, смешанные в субтрактивном синтезе цвета, являются дополнением первичных цветов, смешанных в аддитивном синтезе цвета, как показано в таблице результатов смешивания:
Пурпурный + жёлтый = красный Голубой + жёлтый = зелёный Голубой + пурпурный = синий Голубой + пурпурный + жёлтый = чёрный
В результате смешивания двух первичных цветов создаются вторичные цвета. В результате смешивания двух вторичных цветов, в свою очередь, создаётся первичный цвет. В результате смешивания основных вторичных цветов поровну создаётся физический чёрный цвет. Цвет, производный от вторичных цветов, всегда будет темнее, чем цвета, которыми они производятся.
Спектрозональная пленка
КСЯ мха
КСЯ (весна – лето – осень)
Весна - начало
Сосна – береза (полог)
Береза
Весна
Лето (осины)
Ельник летом
Лето
Осень
Осень - контраст
Зима - 1
Зима - 2
Зима - 3
Сосна
Геометрия перспективного снимка
Перспективность

