d197e2a789695a27584b5a70be7b01a7.ppt
- Количество слайдов: 31
EXCITATION SYSTEMS Copyright © P. Kundur This material should not be used without the author's consent 1539 pk
Excitation Systems Outline 1. Functions and Performance Requirements 2. Elements of an Excitation System 3. Types of Excitation Systems 4. Control and Protection Functions 5. Modeling of Excitation Systems ES- 1 1539 pk
Functions and Performance Requirements of Excitation Systems § The functions of an excitation system are F to provide direct current to the synchronous generator field winding, and F to perform control and protective functions essential to the satisfactory operation of the power system § The performance requirements of the excitation system are determined by a) Generator considerations: § supply and adjust field current as the generator output varies within its continuous capability § respond to transient disturbances with field forcing consistent with the generator short term capabilities: - rotor insulation failure due to high field voltage - rotor heating due to high field current - stator heating due to high VAR loading - heating due to excess flux (volts/Hz) b) Power system considerations: § contribute to effective control of system voltage and improvement of system stability ES- 2 1539 pk
Elements of an Excitation System § Exciter: provides dc power to the generator field winding § Regulator: processes and amplifies input control signals to a level and form appropriate for control of the exciter § Terminal voltage transducer and load compensator: senses generator terminal voltage, rectifies and filters it to dc quantity and compares with a reference; load comp may be provided if desired to hold voltage at a remote point § Power system stabilizer: provides additional input signal to the regulator to damp power system oscillations § Limiters and protective circuits: ensure that the capability limits of exciter and generator are not exceeded ES- 3 1539 pk
Types of Excitation Systems Classified into three broad categories based on the excitation power source: • DC excitation systems • AC excitation systems • Static excitation systems 1. DC Excitation Systems: • utilize dc generators as source of power; driven by a motor or the shaft of main generator; self or separately excited • represent early systems (1920 s to 1960 s); lost favor in the mid-1960 s because of large size; superseded by ac exciters • voltage regulators range from the early noncontinuous rheostatic type to the later system using magnetic rotating amplifiers ES- 4 1539 pk
Figure 8 -2 shows a simplified schematic of a typical dc excitation system with an amplidyne voltage regulator • self-excited dc exciter supplies current to the main generator field through slip rings • exciter field controlled by an amplidyne which provides incremental changes to the field in a buck-boost scheme • the exciter output provides rest of its own field by self-excitation 2. AC Excitation Systems: • use ac machines (alternators) as source of power • usually, the exciter is on the same shaft as the turbine-generator • the ac output of exciter is rectified by either controlled or non-controlled rectifiers • rectifiers may be stationary or rotating • early systems used a combination of magnetic and rotating amplifiers as regulators; most new systems use electronic amplifier regulators ES- 5 1539 pk
Figure 8. 2: DC excitation system with amplidyne voltage regulators ES- 6 1539 pk
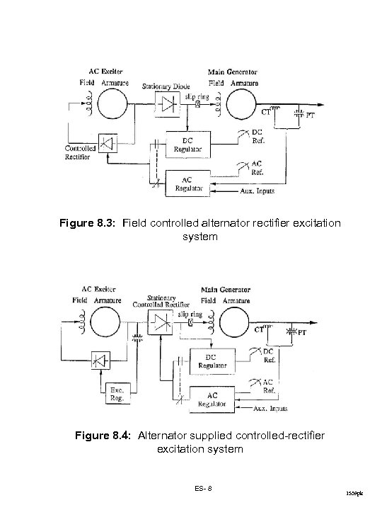
2. 1 Stationary rectifier systems: • dc output to the main generator field supplied through slip rings • when non-controlled rectifiers are used, the regulator controls the field of the ac exciter; Fig. 8. 3 shows such a system which is representative of GE-ALTERREX system • When controlled rectifiers are used, the regulator directly controls the dc output voltage of the exciter; Fig. 8. 4 shows such a system which is representative of GE-ALTHYREX system 2. 2 Rotating rectifier systems: • the need for slip rings and brushes is eliminated; such systems are called brushless excitation systems • they were developed to avoid problems with the use of brushes perceived to exist when supplying the high field currents of large generators • they do not allow direct measurement of generator field current or voltage ES- 7 1539 pk
Figure 8. 3: Field controlled alternator rectifier excitation system Figure 8. 4: Alternator supplied controlled-rectifier excitation system ES- 8 1539 pk
Figure 8. 5: Brushless excitation system ES- 9 1539 pk
3. Static Excitation Systems: • all components are static or stationary • supply dc directly to the field of the main generator through slip rings • the power supply to the rectifiers is from the main generator or the station auxiliary bus 3. 1 Potential-source controlled rectifier system: • excitation power is supplied through a transformer from the main generator terminals • regulated by a controlled rectifier • commonly known as bus-fed or transformer-fed static excitation system • very small inherent time constant • maximum exciter output voltage is dependent on input ac voltage; during system faults the available ceiling voltage is reduced Figure 8. 6: Potential-source controlled-rectifier excitation system ES- 10 1539 pk
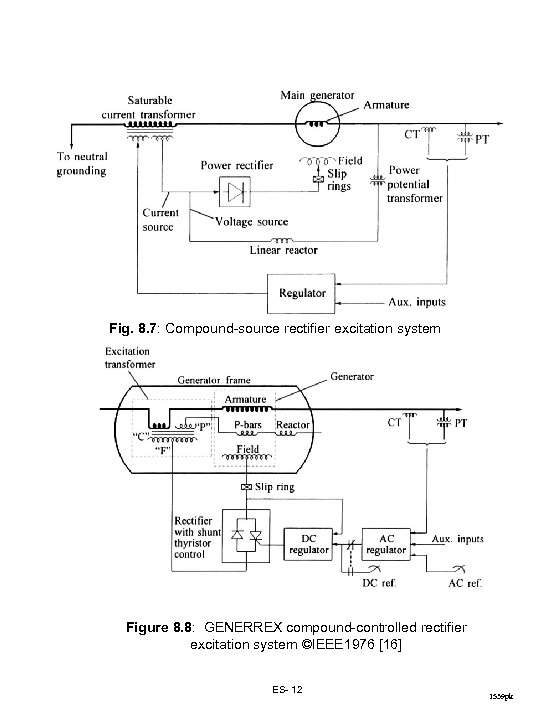
3. 2 Compound-source rectifier system: • power to the exciter is formed by utilizing current as well as voltage of the main generator • achieved through a power potential transformer (PPT) and a saturable current transformer (SCT) • the regulator controls the exciter output through controlled saturation of excitation transformer • during a system fault, with depressed generator voltage, the current input enables the exciter to provide high field forcing capability An example is the GE SCT-PPT. 3. 3 Compound-controlled rectifier system: • utilizes controlled rectifiers in the exciter output circuits and the compounding of voltage and current within the generator stator • result is a high initial response static system with full "fault-on" forcing capability An example is the GE GENERREX system. ES- 11 1539 pk
Fig. 8. 7: Compound-source rectifier excitation system Figure 8. 8: GENERREX compound-controlled rectifier excitation system ©IEEE 1976 [16] ES- 12 1539 pk
Control and Protective Functions § A modern excitation control system is much more than a simple voltage regulator § It includes a number of control, limiting and protective functions which assist in fulfilling the performance requirements identified earlier § Figure 8. 14 illustrates the nature of these functions and the manner in which they interface with each other F any given system may include only some or all of these functions depending on the specific application and the type of exciter F control functions regulate specific quantities at the desired level F limiting functions prevent certain quantities from exceeding set limits F if any of the limiters fail, then protective functions remove appropriate components or the unit from service ES- 13 1539 pk
Figure 8. 14: Excitation system control and protective circuits ES- 14 1539 pk
§ AC Regulator: F basic function is to maintain generator stator voltage F in addition, other auxiliaries act through the ac regulator § DC Regulator: F holds constant generator field voltage (manual control) F used for testing and startup, and when ac regulator is faulty § Excitation System Stabilizing Circuits: F excitation systems with significant time delays have poor inherent dynamic performance F unless very low steady-state regulator gain is used, the control action is unstable when generator is on open-circuit F series or feedback compensation is used to improve the dynamic response F most commonly used form of compensation is a derivative feedback (Figure 8. 15) Figure 8. 15: Derivative feedback excitation control system stabilization ES- 15 1539 pk
§ Power System Stabilizer (PSS): F uses auxiliary stabilizing signals (such as shaft speed, frequency, power) to modulate the generator field voltage so as to damp system oscillations § Load Compensator: F used to regulate a voltage at a point either within or external to the generator F achieved by building additional circuitry into the AVR loop (see Fig. 8. 16) F with RC and XC positive, the compensator regulates a voltage at a point within the generator; § used to ensure proper sharing VARs between generators bussed together at their terminals § commonly used with hydro units and cross-compound thermal units F with RC and XC negative, the compensator regulates voltage at a point beyond the generator terminals § commonly used to compensate for voltage drop across step-up transformer when generators are connected through individual transformers ES- 16 1539 pk
Figure 8. 16: Schematic diagram of a load compensator The magnitude of the resulting compensated voltage (Vc), which is fed to the AVR, is given by ES- 17 1539 pk
§ Underexcitation Limiter (UEL): F intended to prevent reduction of generator excitation to a level where steady-state (smallsignal) stability limit or stator core end-region heating limit is exceeded F control signal derived from a combination of either voltage and current or active and reactive power of the generator F a wide variety of forms used for implementation F should be coordinated with the loss-of-excitation protection (see Figure 8. 17) § Overexcitation Limiter (OXL) F purpose is to protect the generator from F F overheating due to prolonged field overcurrent Fig. 8. 18 shows thermal overload capability of the field winding OXL detects the high field current condition and, after a time delay, acts through the ac regulator to ramp down the excitation to about 110% of rated field current; if unsuccessful, trips the ac regulator, transfers to dc regulator, and repositions the set point corresponding to rated value two types of time delays used: (a) fixed time, and (b) inverse time with inverse time, the delay matches thermal capability as shown in Figure 8. 18 ES- 18 1539 pk
Figure 8. 17: Coordination between UEL, LOE relay and stability limit Figure 8. 18: Coordination of over-excitation limiting with field thermal capability ES- 19 1539 pk
§ Volts per Hertz Limiter and Protection: F used to protect generator and step-up transformer from damage due to excessive magnetic flux resulting from low frequency and/or overvoltage F excessive magnetic flux, if sustained, can cause overheating and damage the unit transformer and the generator core F Typical V/Hz limitations: V/Hz (p. u. ) Damage Time in Minutes 1. 25 1. 2 1. 15 1. 10 1. 05 GEN 0. 2 1. 0 6. 0 20. 0 XFMR 1. 0 5. 0 20. 0 F V/Hz limiter (or regulator) controls the field voltage so as to limit the generator voltage when V/Hz exceeds a preset value F V/Hz protection trips the generator when V/Hz exceeds the preset value for a specified time Note: The unit step-up transformer low voltage rating is frequently 5% below the generator voltage rating ES- 20 1539 pk
Modeling of Excitation Systems § Detail of the model required depends on the purpose of study: F the control and protective features that impact on transient and small-signal stability studies are the voltage regulator, PSS and excitation control stabilization F the limiter and protective circuits normally need to be considered only for long-term and voltage stability studies § Per Unit System: Several choices available: a) per unit system used for the main generator field circuit § chosen to simplify machine equations but not considered suitable for exciter quantities; under normal operating conditions field voltage in the order of 0. 001 (too small) b) per unit system used for excitation system specifications § rated load filed voltage as one per unit § not convenient for system studies ES- 21 1539 pk
8. 6. 2 Modeling of Excitation System Components The basic elements which form different types of excitation systems are the dc exciters (self or separately excited); ac exciters; rectifiers (controlled or noncontrolled); magnetic, rotating, or electronic amplifiers; excitation system stabilizing feedback circuits; signal sensing and processing circuits Separately excited dc exciter Figure 8. 26: Block diagram of a dc exciter Self-excited dc exciter The block diagram of Fig. 8. 26 also applies to the selfexcited dc exciter. The value of KE, however, is now equal to Ref/Rg-1 as compared to Ref/Rg for the separately excited case. The station operators usually track the voltage regulator by periodically adjusting the rheostat setpoint so as to make the voltage regulator output zero. This is accounted for by selecting the value of KE so that the initial value of VR is equal to zero. The parameter KE is therefore not fixed, but varies with the operating condition. ES- 22 1539 pk
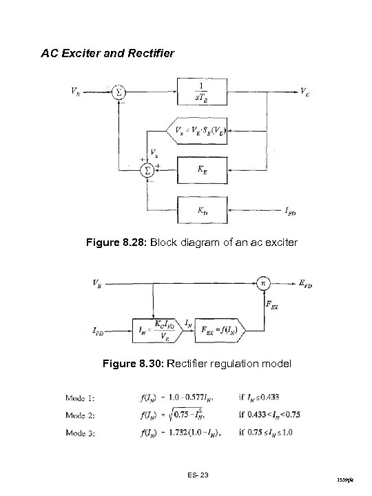
AC Exciter and Rectifier Figure 8. 28: Block diagram of an ac exciter Figure 8. 30: Rectifier regulation model ES- 23 1539 pk
Windup and Non-Windup Limits Representation: System equation: Limiting action: Figure 8. 34: (a) Integrator with windup limits Representation: System equation: Limiting action: Figure 8. 34: (b) Integrator with non-windup limits ES- 24 1539 pk
8. 6. 3 Modeling of Complete Excitation Systems Figure 8. 39 depicts the general structure of a detailed excitation system model having a one-to-one correspondence with the physical equipment. While this model structure has the advantage of retaining a direct relationship between model parameters and physical parameters, such detail is considered too great for general system studies. Therefore, model reduction techniques are used to simplify and obtain a practical model appropriate for the type of study for which it is intended. The parameters of the reduced model are selected such that the gain and phase characteristics of the reduced model match those of the detailed model over the frequency range of 0 to 3 Hz. In addition, all significant nonlinearities that impact on system stability are accounted for. With a reduced model, however, direct correspondence between the model parameters and the actual system parameters is generally lost. Figure 8. 39: Structure of a detailed excitation system model ES- 25 1539 pk
Standard IEEE Models § IEEE has standardized 12 model structures for representing the wide variety of excitation systems currently in use (see IEEE Standard 421. 5 -1992): F these models are intended for use in transient and small-signal stability studies F Figures 8. 40 to 8. 43 show four examples ES- 26 1539 pk
1. Type DC 1 A Exciter model Figure 8. 40: IEEE type DC 1 A excitation system model. ©IEEE 1991[8] The type DC 1 A exciter model represents field controlled dc communtator exciters, with continuously acting voltage regulators. The exciter may be separately excited or self excited, the latter type being more common. When self excited, KE is selected so that initially VR=0, representing operator action of tracking the voltage regulator by periodically trimming the shunt field rheostat set point. 2. Type AC 1 A Exciter model Figure 8. 41: IEEE type AC 1 A excitation system model. ©IEEE 1991[8] The type AC 1 A exciter model represents a field controlled alternator excitation system with non-controlled rectifiers, applicable to a brushless excitation system. The diode rectifier characteristic imposes a lower limit of zero on the exciter output voltage. The exciter field supplied by a pilot exciter, and the voltage regulator power supply is not affected by external transients. ES- 27 1539 pk
3. Type AC 4 A exciter model Figure 8. 42: IEEE type AC 4 A excitation system model © IEEE 1991 [8] The type AC 4 A exciter model represents an alternator supplied controlled rectifier excitation system - a high initial response excitation system utilizing full wave thyristor bridge circuit. Excitation system stabilization is usually provided in the form of a series lag-lead network (transient gain reduction). The time constant associated with the regulator and firing of thyristors is represented by TA. The overall gain is represented by KA. The rectifier operation is confined to mode 1 region. Rectifier regulation effects on exciter output limits are accounted for by constant KC. 4. Type ST 1 A exciter model Figure 8. 43: IEEE type ST 1 A excitation system model © IEEE 1991 [8] The type ST 1 A exciter model represents potential-source controlled-rectifier systems. The excitation power is supplied through a transformer from generator terminals; therefore, the exciter ceiling voltage is directly proportional to generator terminal voltage. The effect of rectifier regulation on ceiling voltage is represented by KC. The model provides flexibility to represent series lag-lead or rate feedback stabilization. Because of very high field forcing capability of the system, a field current limiter is sometimes employed; the limit is defined by l. LR and the gain by KLR. ES- 28 1539 pk
Modeling of Limiters § Standard models do not include limiting circuits; these do not come into play under normal conditions § These are, however, important for long-term and voltage stability studies § Implementation of these circuits varies widely F models have to be established on a case by case basis § Figure 8. 47 shows as an example the model of a field current limiter ES- 29 1539 pk
(a) Block diagram representation (b) Limiting characteristics Figure 8. 47: Field-current limiter model ES- 30 1539 pk


