През. 9.pptx
- Количество слайдов: 8
Для сложных индикаторов (матричных, графических дисплеев) преобразователи выполняются в виде масочных ПЗУ для стандартных элементов индикации или в виде программируемых пользователем ПЗУ для нестандартных элементов индикации. В качестве примера блока индикации одноразрядной десятичной цифры рассмотрим пример использования микросхем КР 514 ИД 1 и КР 514 ИД 2. 5 1 1 1 2 2 2 4 4 4 8 8 Лог. 1 3 Е Х/У a b c d e f g 11 10 9 8 7 13 12 а (КР 514 ИД 1) 5 1 1 1 2 2 2 4 4 4 8 8 Лог. 1 3 Е Х/У a b c d e f g б (КР 514 ИД 2) 11 R 1 10 9 +UП 8 7 13 12 R 7 1
Обе эти микросхемы представляют преобразователь двоичного четырехразрядного кода (входы 1, 2, 4, 8) в семи сегментный. Микросхема КР 514 ИД 1 предназначена для использования с индикаторами с разъединенными анодами, а микросхема КР 514 ИД 2 – с индикаторами с разъединенными катодами. Обе микросхемы снабжены прямым входом разрешения Е. Работа микросхем разрешается при подаче логической единицы на этот вход. При необходимости индикации десятичных цифр большой разрядности можно на каждый индикатор отдельного разряда десятичного числа устанавливать отдельные семи сегментные преобразователи и подавать на их входы одновременно соответствующие двоично-десятичные коды. Это вызовет одновременную индикацию всех разрядов десятичного числа. Недостаток такой организации заключается в значительном повышении потребления тока от источника питания. Данного недостатка лишены устройства динамической 2 индикации (см. рисунок).
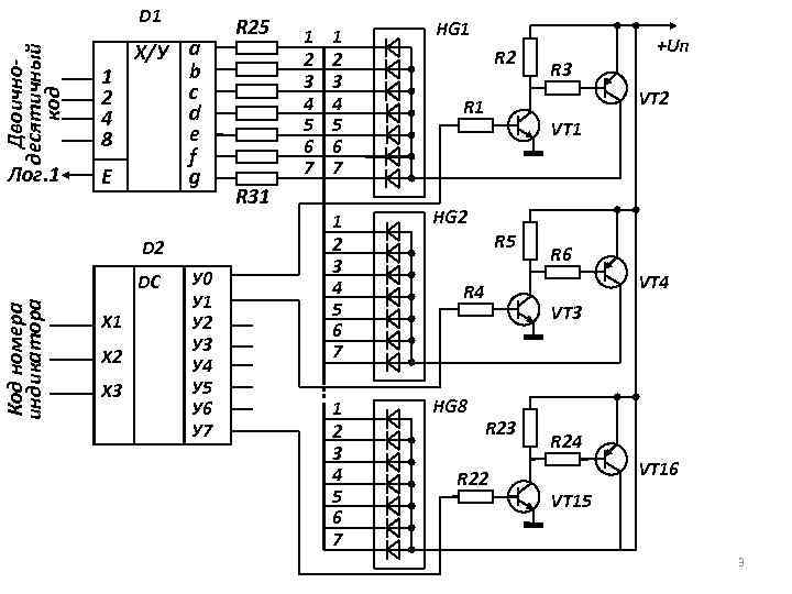
Двоичнодесятичный код D 1 Лог. 1 1 2 4 8 Е Х/У a b c d e f g D 2 Код номера индикатора DC Х 1 Х 2 Х 3 У 0 У 1 У 2 У 3 У 4 У 5 У 6 У 7 R 25 R 31 1 2 3 4 5 6 7 HG 2 1 2 3 4 5 6 7 HG 8 R 2 +UП R 3 VT 2 R 1 VT 1 R 5 R 6 VT 4 R 4 VT 3 R 22 R 24 VT 16 VT 15 3
В них в определенный момент времени осуществля-ется индикация только одного разряда десятичного числа. Остальные индикаторы в это время находятся в погашенном состоянии. Обеспечивая чередование индицируемых разрядов с определенной частотой (сотни герц и выше), можно добиться восприятия человеческим зрением равномерности и постоянства свечения всех разрядов индицируемого числа. Формирование семи сегментных кодов для всех восьми индикаторов осуществляется одним преобразователем D 1. Каждый индикатор снабжен схемой электронного ключа на двух транзисторах VT 1 и VT 2 (VT 3. . . VT 16 ) и трех резисторах R 1, R 2 и R 3 (R 4. . . R 24), который подключает его объединенные аноды к источнику питания и тем самым задавая ток в сегментах этого индикатора и обеспечивая его свечение. Управление ключами осуществляется с помощью дешифратора выбора номера индикатора D 2. 4
Наличие логической единицы на первом выходе Y 0 дешифратора вызывает открытие транзистора VT 1, что вызывает открытие транзистора VT 2, который подключает ин -дикатор HG 1 к источнику питания. На остальных выходах дешифратора в этот момент присутствуют логические нули, в результате которых транзисторы VT 3. . . VT 16 находятся в режиме отсечки и, следовательно, закрыты. Для включения второго индикатора необходимо на выходе У 1 дешифратора сформировать логическую единицу. При этом на остальных выходах дешифратора будут присутствовать потенциалы логических нулей, что приведет к закрытию соответствующих ключей и отключению соответствующих индикаторов от источника питания. Таким образом, обеспечивается подключение только одного из восьми индикаторов в определенный момент времени. 5
Выбор подключаемого индикатора осуществляется поступающим на вход дешифратора двоичным кодом выбора номера дешифратора. Для корректной индикации должно быть обеспечено синхронное выставление входного двоично-десятичного кода индицируемой цифры и кода номера индикатора. Таким образом в момент времени, когда на вход дешифратора подается двоичный код i-го номера подключаемого индикатора, на вход семисегментного преобразователя должен поступать двоично-десятичный код того же iго разряда индицируемого десятичного числа. Т. е. динамическая индикация должна сопровождаться последовательностной схемой синхронизации и управления. Пример такой схемы для индикации восьмиразрядных десятичных чисел приведен на рисунке. 6
D 7 1 A 0 2 A 1 3 A 2 GN D 5 CT 2 1 C 2 4 1 2 3 D 7 1 A 0 2 A 1 3 A 2 Двоичнодесятичный код D 3 D 0 MS D 1 D 2 D 0 MS D 1 D 4 D 0 MS D 1 D 7 1 A 0 2 A 1 3 A 2 1 2 3 Код номера индикации Вторые разряды двоичнодесятичных кодов D 7 1 A 0 2 A 1 3 A 2 Четвертые разряды двоичнодесятичных кодов Первые разряды двоичнодесятичных кодов Третьи разряды двоичнодесятичных кодов D 1 D 0 MS D 1 Двоичный счетчик D 5 служит для формирования кода выбора номера индикатора, подключаемого в данный момент времени. Этот же код является и адресом для мультиплексоров D 1…D 4, коммутирующих на семисегментный преобразователь соответствующие разряды двоично-десятичных кодов разрядов десятичных чисисел. 7
Для задания счетного режима счетчика D 5 схема синхронизации и управления должна содержать генератор тактовых импульсов GN. Очевидно, что схема управления динамической индикации требует относительно сложной аппаратной реализации. Поэтому динамическая индикация используется совместно с устройствами, способными разделять во времени передачу по ограниченному набору линий двоичнодесятичных кодов различных десятичных разрядов индицируемого числа. Такими устройствами являются, например, микропроцессоры. В них функции схемы синхронизации реализуются программным путем. 8
През. 9.pptx