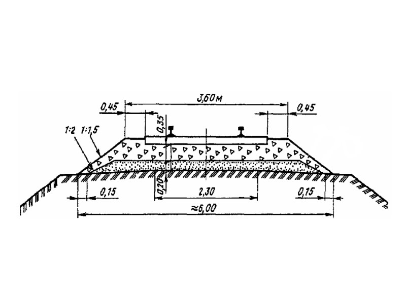
БАЛЛАСТНЫЙ СЛОЙ Назначение балластного слоя Воспринимать давление от

Зарегистрируйтесь, чтобы просмотреть полный документ!
РЕГИСТРАЦИЯ
Скачать презентацию БАЛЛАСТНЫЙ СЛОЙ Назначение балластного слоя Воспринимать давление от Скачать презентацию БАЛЛАСТНЫЙ СЛОЙ Назначение балластного слоя Воспринимать давление от

5450-lektsia_6_ballastnyy_sloy.ppt

  • Количество слайдов: 33