e4d8ca4702a4e333610db24e12eec08f.ppt
- Количество слайдов: 43
1975: Capacitive touch switches in use
1994: 1 st laptop capacitive touchpad
2003: 1 st i. Pod capacitive touchwheel
Today: Multi-touch capacitive touch screens How do they work?
CNMAT Sensor Workshop 2008 Capacitive Touch Sensors 2008 -7 -23 John Lazzaro CS Division, UC Berkeley www. cs. berkeley. edu/~lazzaro CNMAT Sensor Workshop: Capacitive Touch Sensors UC Regents Summer 2008 © UCB
Today’s lecture: Capacitive touch sensing Physics of capacitance Simple touch switches Touch pads and touch screens Novel applications CNMAT Sensor Workshop: Capacitive Touch Sensors UC Regents Summer 2008 © UCB
Physics of Capacitance CNMAT Sensor Workshop: Capacitive Touch Sensors UC Regents Summer 2008 © UCB
Capacitor: A part you buy from Digikey. CNMAT Sensor Workshop: Capacitive Touch Sensors UC Regents Summer 2008 © UCB
Capacitor: Two conductive plates, separated by an insulator (dielectric). Current cannot flow through an insulator. Thus, electrons can’t pass from A to B. CNMAT Sensor Workshop: Capacitive Touch Sensors UC Regents Summer 2008 © UCB
Battery pumps electrons from plate A to plate B. We notate each electron pumped from A as and refer to it as a positive charge. CNMAT Sensor Workshop: Capacitive Touch Sensors UC Regents Summer 2008 © UCB
How many does a 1. 5 V battery place on plate A? It depends on the 3 -D shape of the capacitor, and the material properties of the dielectric. A: Area of plates d: Plate separation ϵ: Dielectric property Q: Number of V: Voltage on plates CNMAT Sensor Workshop: Capacitive Touch Sensors The ratio Q/V is defined as the capacitance C of the device. Q = CV UC Regents Summer 2008 © UCB
We can use a capacitance meter to measure C. LED Display Conceptually, the meter puts a V across the C, and then drains off the charge and counts Q. C = Q/V. CNMAT Sensor Workshop: Capacitive Touch Sensors UC Regents Summer 2008 © UCB
Notation alert! From now on we draw net charge on the plates. field lines A capacitance meter counts the number of field lines (and thus, Q). CNMAT Sensor Workshop: Capacitive Touch Sensors We draw field lines to illustrate the pairing of charges. UC Regents Summer 2008 © UCB
Simple Touch Switches (Sources: Analog Devices, Cypress, and Synaptics data sheets and websites). CNMAT Sensor Workshop: Capacitive Touch Sensors UC Regents Summer 2008 © UCB
i. Pod 3 G front panel What’s on the back of the PC board? Traces on back of PC board form the “capacitors”! Capacitance meter chip (Synaptics) CNMAT Sensor Workshop: Capacitive Touch Sensors UC Regents Summer 2008 © UCB
PC trace design for a capacitive button switch PC Board Top View Plate A Plate B What does the finger do? i. Pod White Plastic Casing Capacitor Plate A PC BOARD Cross. Section Capacitor Plate B s ne i dl l fie Copper Glass Copper FR-4 (insulator) field line s Copper FR-4 Copper CNMAT Sensor Workshop: Capacitive Touch Sensors UC Regents Summer 2008 © UCB
Some of the field lines will terminate on the iron in the red blood cells of a nearby finger. Recall Capacitance meter counts the number of field lines to determine Q, and then computes C = Q/V Capacitor Plate A CNMAT Sensor Workshop: Capacitive Touch Sensors Capacitor Plate B UC Regents Summer 2008 © UCB
Compact button switch designs Capacitor Plate A LED Capacitor Plate A Capacitor Plate B dm se sen ly ive t aci ap cha e cal ni itch sw C Capacitor Plate A Capacitor Plate B Capacitor Plate A
Capacitive fader design Capacitor Plate B 0 Plate B 1 Plate B 2 Capacitor Plate A Plate B 3 Plate B 4 Plate B 5 Plate B 6 Super-resolution via interpolation. . . Plate B 7
Touch wheel design B 0 B 1 B 7 B 2 Plate A B 6 B 3 B 5 B 0 B 4 B 1 B 2 A B 7 B 6 B 3 B 4 B 5
Keypad design A One switch Switch array B 0 B 1 A (connect all As together) B 0 B 1 If row I and column J have big Cs, key Kij is touched
Scaling up
Typical part $3. 04 Qu 1 $1. 69 Qu 5000 Senses 14 Cs
Interesting AD 7142 facts. . . Pad C a few p. F. Finger ΔC a few f. F ! Measured pad C is always drifting. Sensor chip tracks it adaptively. Sense time per pad: 3 ms. If all 14 channels in use: 36 ms “frame rate”. Plastic thickness over PCB: 2 -4 mm. CNMAT Sensor Workshop: Capacitive Touch Sensors UC Regents Summer 2008 © UCB
Touchpads and Touchscreens CNMAT Sensor Workshop: Capacitive Touch Sensors (Sources: Apple, Synaptics, and Cirque patents, UCvarious websites). Regents Summer 2008 © UCB
Touchpad: A circuit board Back view: Capacitance meter chip Top view - finger surface
Touchpad Cross-section Grid cross-points are sensor capacitors.
Touch screens use a transparent wire matrix (ITO, Indium-Tin Oxide) under glass or plastic.
The Sensor Array Cross-Point close-up Recall. . . Capacitor Plate B Capacitor Plate A
Sensor Array Some of the field lines will terminate on the iron in the red blood cells of a nearby finger. If many fingers may touch at once (multi-touch), scan out Cij array (frames) at a constant frame rate. “Capacitance video camera”.
Circuit from Apple patent teaching the i. Phone touchscreen controller chip. Like a camera chip readout Excite one row with a sense waveform Read capacitance of all columns in To parallel A/D channels
One A/D readout channel Not feasible in 1994. . . Looks a lot like a radio receiver. . . Which may be why Apple partnered with Broadcom for the design!
Before Multi-touch Single-touch: A fast accurate keypad Keypad recap: Switch Array B 0 B 1 adapted the keypad idea to track one finger over a track pad cross-point matrix (1991). Connect all As together One switch If row I and column J have big Cs, key Kij is touched
Before Multi-touch B 0 B 1 First, drive all Y lines simultaneously, and measure X capacitance vector. . . Then, drive all X lines simultaneously, and measure Y capacitance vector. Track peaks over time, etc. . .
All-analog computation ! Analog background C normalization To identical circuits for Y. Analog peak interpolation A/D at very end.
For your design: A typical part Most 2 -D products are sold as per-customer custom modules (Synaptics) or done as in-house ASICs (Apple). Recently, standard parts have started to appear. . .
Novel applications CNMAT Sensor Workshop: Capacitive Touch Sensors UC Regents Summer 2008 © UCB
Touch sensing ideas. . . Techniques not limited to finger capacitance CNMAT Sensor Workshop: Capacitive Touch Sensors UC Regents Summer 2008 © UCB
Touch pad and touch screen ideas. . . Techniques are not limited to the Cartesian coordinate space. CNMAT Sensor Workshop: Capacitive Touch Sensors UC Regents Summer 2008 © UCB
Touch sensing ideas. . . Techniques can be adapted to flexible printed circuit technologies. CNMAT Sensor Workshop: Capacitive Touch Sensors UC Regents Summer 2008 © UCB
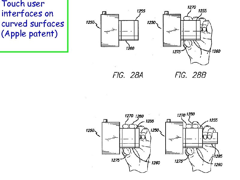
Touch user interfaces on curved surfaces (Apple patent)
Touch user interfaces on curved surfaces (Apple patent)
Final thought Touch Sensing = Materials + Electronics + Product Design A decade ago, a design team needed experts in all 3 disciplines to succeed. Today, sensor chips and Internet PC board services change the equation. Sensing on curved surfaces await their i. Pod moment -- a product design concept that brings them mainstream.


